EasyManua.ls Logo

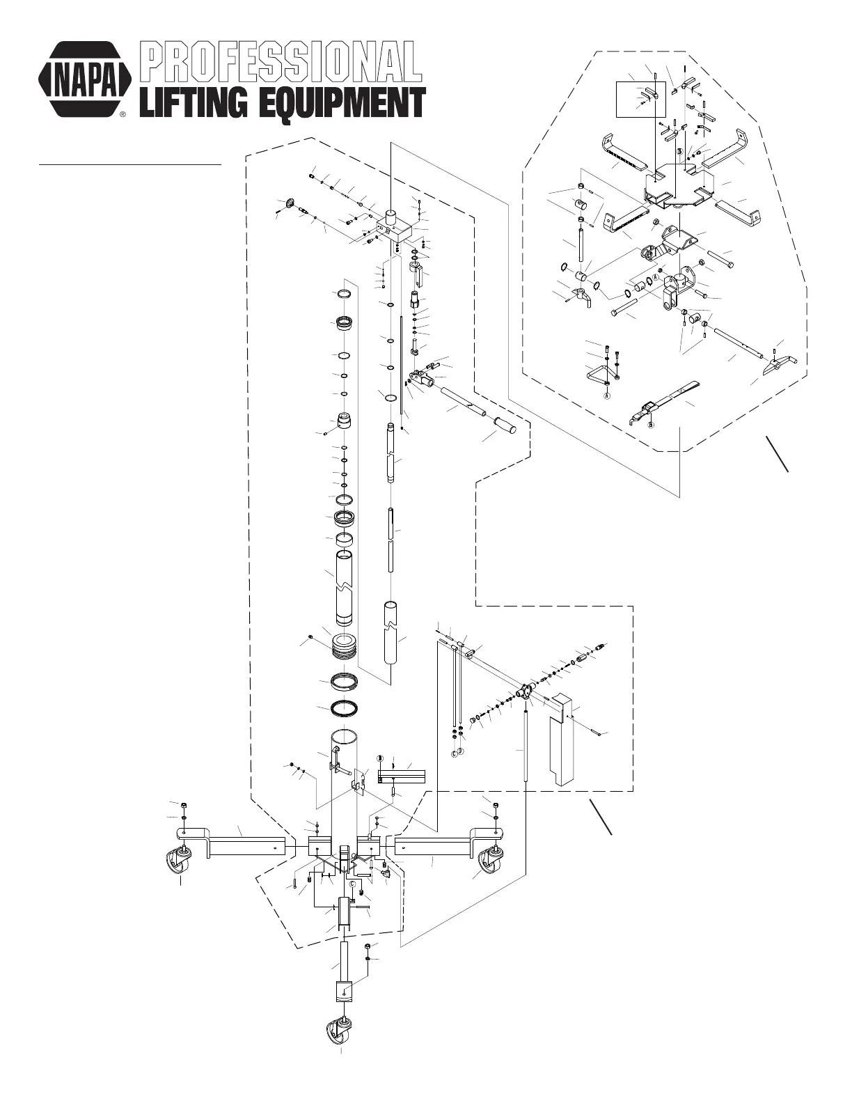
Napa 791-7200 E - Parts Identification; Hydraulic Unit and Saddle Assembly

Napa 791-7200 E
14 pages
Print Icon
To Next Page IconTo Next Page
To Next Page IconTo Next Page
To Previous Page IconTo Previous Page
To Previous Page IconTo Previous Page
Loading...
791-7200 E 5 rev. 4/9/18
MODEL # 791-7200 E
1/2 TON AIR &
HYDRAULIC
TRANSMISSION
JACK
3-32
COMPLETE
SADDLE
ASSEMBLY
RS7140D331
COMPLETE
REPLACEMENT
HYDRAULIC UNIT
ASSEMBLY
RS7200DHU
1-62
1-61
1-60
1-59
1-58
1-57
1-56
1-55
1-54
1-53
1-52
1-51
1-87
1-83
1-84
1-67
1-66
1-65
1-64
1-63
1-55
1-56
1-68
1-69
1-70
1-50
1-71
1-72
1-73
1-74
1-73
1-74
1-75
1-76
1-77
1-78
1-36
1-88
1-35
1-34
1-86
1-85
1-85
1-85
1-33
1-32
1-1
1-8
1-3
1-9
1-5
1-7
1-69
1-6
1-29 1-29
2-3
2-2
2-1
2-5
1-3
1-29
2-6
1-4
2-4
2-7
2-2
2-3
1-5
2-5
1-2
2-4
2-2
2-3
1-31
1-13
1-30
1-29
1-20
1-18
1-16
1-14
1-28
1-21
1-19
1-17
1-15
1-27
1-26
1-15
1-17
1-19
1-21
1-23
1-24
1-22
1-20
1-18
1-16
1-14
1-25
1-12
1-11
1-10
1-89
2-7
2-4
2-6
2-6
1-48
1-47
1-49
1-23
1-81
1-3
1-82
1-79
1-80
3-30
3-29
3-28
3-22
3-13
3-18
3-16
3-26
3-9
3-21
3-19
3-8
3-3
3-25
3-24
3-23
3-1
3-2
3-7
3-6
3-5
3-5A
3-5B
3-5C
3-4
3-17
3-15
3-16
3-21
3-2
3-14
3-14
3-10
3-12
3-18
3-27
3-11
3-17
3-15
3-20
3-32
1-46
1-45
1-44
1-43
1-42
1-41
1-40
1-39
1-51
1-52
1-53
1-54
1-50
1-42
1-43
1-44
1-38
1-38
1-37
1-39

Related product manuals