EasyManua.ls Logo

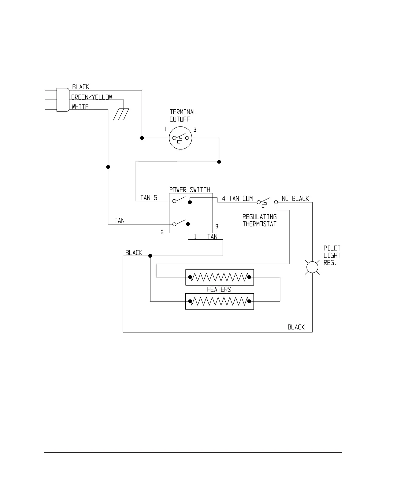
NAPCO 5831 - 220 Volt Wiring Diagram

NAPCO 5831
19 pages
Print Icon
To Next Page IconTo Next Page
To Next Page IconTo Next Page
To Previous Page IconTo Previous Page
To Previous Page IconTo Previous Page
Loading...
13
220 VOLT WIRING DIAGRAM