EasyManua.ls Logo

National Instruments NI 6225 - Using Non-Referenced Single-Ended (NRSE) Connections for Floating Signal Sources

National Instruments NI 6225
411 pages
To Next Page IconTo Next Page
To Next Page IconTo Next Page
To Previous Page IconTo Previous Page
To Previous Page IconTo Previous Page
Loading...
Chapter 4 Analog Input
© National Instruments Corporation 4-19 M Series User Manual
1MΩ). In this case, connect the negative input directly to AI GND. If the
source has high output impedance, balance the signal path as previously
described using the same value resistor on both the positive and negative
inputs; be aware that there is some gain error from loading down the source,
as shown in Figure 4-7.
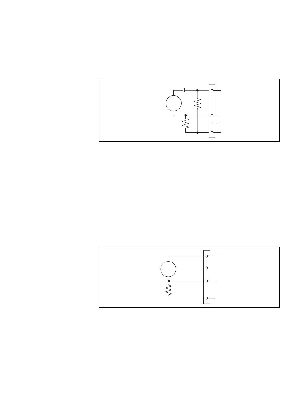
Figure 4-7. Differential Connections for AC Coupled Floating Sources
with Balanced Bias Resistors
Using Non-Referenced Single-Ended (NRSE) Connections for Floating
Signal Sources
It is important to connect the negative lead of a floating signals source to
AI GND (either directly or through a resistor). Otherwise the source may
float out of the valid input range of the NI-PGIA and the DAQ device
returns erroneous data.
Figure 4-8 shows a floating source connected to the DAQ device in NRSE
mode.
Figure 4-8. NRSE Connections for Floating Signal Sources
All of the bias resistor configurations discussed in the Using Differential
Connections for Floating Signal Sources section apply to the NRSE bias
resistors as well. Replace AI– with AI SENSE in Figures 4-4, 4-5, 4-6,
and 4-7 for configurations with zero to two bias resistors. The noise
+
AI GND
V
s
AC Coupled
Floating
Signal
Source
AI+
AI–
AI SENSE
AC Coupling
+
AI GND
R
AI SENSE
AI
V
s
Floating
Signal
Source

Table of Contents

Related product manuals