EasyManua.ls Logo

NETSPA CLEANER - Nomenclature des Pièces

NETSPA CLEANER
Print Icon
To Next Page IconTo Next Page
To Next Page IconTo Next Page
To Previous Page IconTo Previous Page
To Previous Page IconTo Previous Page
Loading...
2
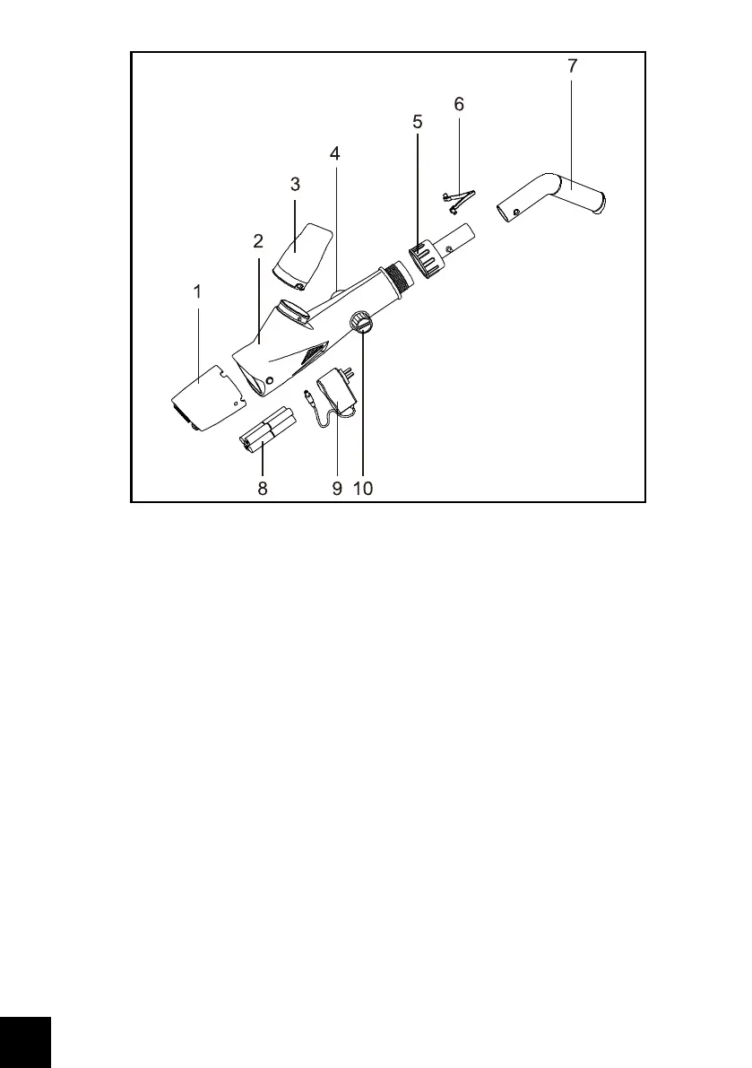
NOMENCLATURE DES PIÈCES
1. Tête d’aspiration transparente
2. Corps du nettoyeur
3. Sac de ltration
4. Bouton
5. Connecteur
6. Clip en V
7. Poignée
8. Pile AA NI-MH (1400MA)
9. Chargeur
10. Commande et orice de charge
Piles: NI-MH rechargeable 8x1.2V
Tension de charge : 11,5V DC, 500 mAh
Tension du moteur : 12V DC

Related product manuals