EasyManua.ls Logo

Newlong DD-5 - Page 13

Newlong DD-5
24 pages
Print Icon
To Next Page IconTo Next Page
To Next Page IconTo Next Page
To Previous Page IconTo Previous Page
To Previous Page IconTo Previous Page
Loading...
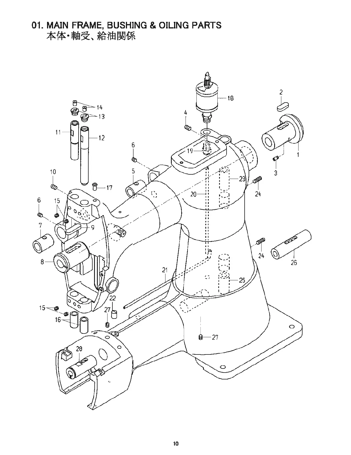
01.
MAIN
FRAME,
BUSHING
&
OILING
PARTS
11
8
10
I
,
-
-
...
_,
,
'
I
'
I I
I I
I
2
26
From the Library of Superior Sewing Machine & Supply LLC

Other manuals for Newlong DD-5

Related product manuals