EasyManua.ls Logo

Nexgrill 720-0786 - Lighting Instructions; General Use of the Main Burner; To Light the Main Burners; To Match Light the Burner

Nexgrill 720-0786
36 pages
Print Icon
To Next Page IconTo Next Page
To Next Page IconTo Next Page
To Previous Page IconTo Previous Page
To Previous Page IconTo Previous Page
Loading...
8
Lighting Instructions
Note: Remove all packaging, including straps, before using the grill
Each burner assembly is adjusted prior to shipment; however, variations in the local gas supply may
make minor adjustments necessary.
Do not attempt to light the grill if odor of gas is present. Call for service 1-800-913-8999.
Check all gas connections before each use.
WARNING: IMPORTANT BEFORE LIGHTING…
Inspect the gas supply hose prior to turning the gas “ON”. If there is evidence of cuts, wear, or abrasion, it
must be replaced prior to use. Do not use the grill if the odor of gas is present. Only the pressure regulator
and hose assembly supplied with the unit should be used.
Never substitute regulators and hose assembly for those supplied with the grill. If a replacement is necessary,
contact the manufacturer for proper replacement. The replacement must be that specified in the manual.
WARNING: Always keep your face and body as far away from the burner as possible when lighting.
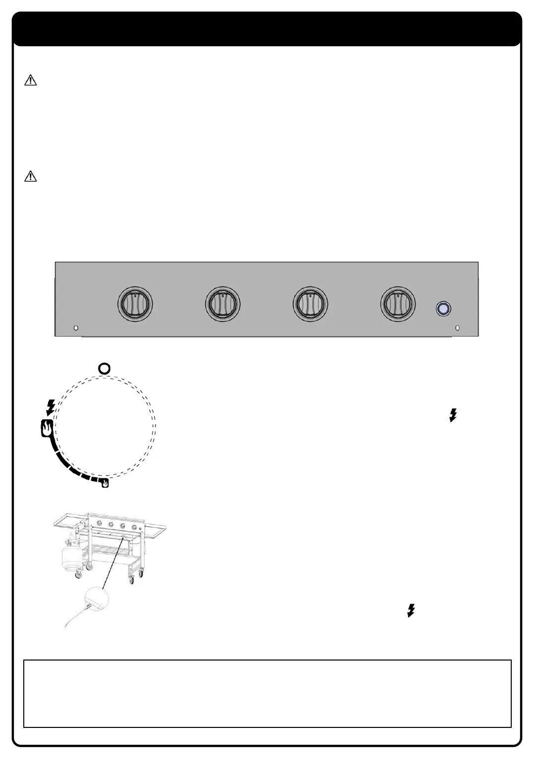
GENERAL USE OF THE MAIN BURNER
Each main burner is rated at 15,000 BTU/hr. The main grill burners encompass the entire cooking area and
are side ported. The burner knobs are located on the control panel. Each ignition setting is labeled on the
control panel.
MAIN BURNERS
Main Burner
TO MATCH LIGHT THE BURNER
1. If the burner will not light after several attempts then the burner can be
match lit, before using the match allow 5 minutes for any accumulated
gas to dissipate.
2. Clip a paper match on one end of the lighting rod.
3. Light match.
4. Hold lighting rod and insert lighted match right next to the burner ports
or ceramic file.
5. Push and turn the designated control knob to .
6. Burner should ignite immediately.
TO LIGHT THE MAIN BURNERS
1. Turn ON the gas tank valve.
2. Push and turn corresponding burner control knob to the while
pressing the ignition button to light the burner.
3. Once the burner is lit, release the ignition button and knob.
4. If burner does not light up, turn the knob to O and repeat the lighting
procedure.

Other manuals for Nexgrill 720-0786

Related product manuals