EasyManua.ls Logo

NEXT pool STERILOR Duo - Care Instructions

Default Icon
35 pages
Print Icon
To Next Page IconTo Next Page
To Next Page IconTo Next Page
To Previous Page IconTo Previous Page
To Previous Page IconTo Previous Page
Loading...
33
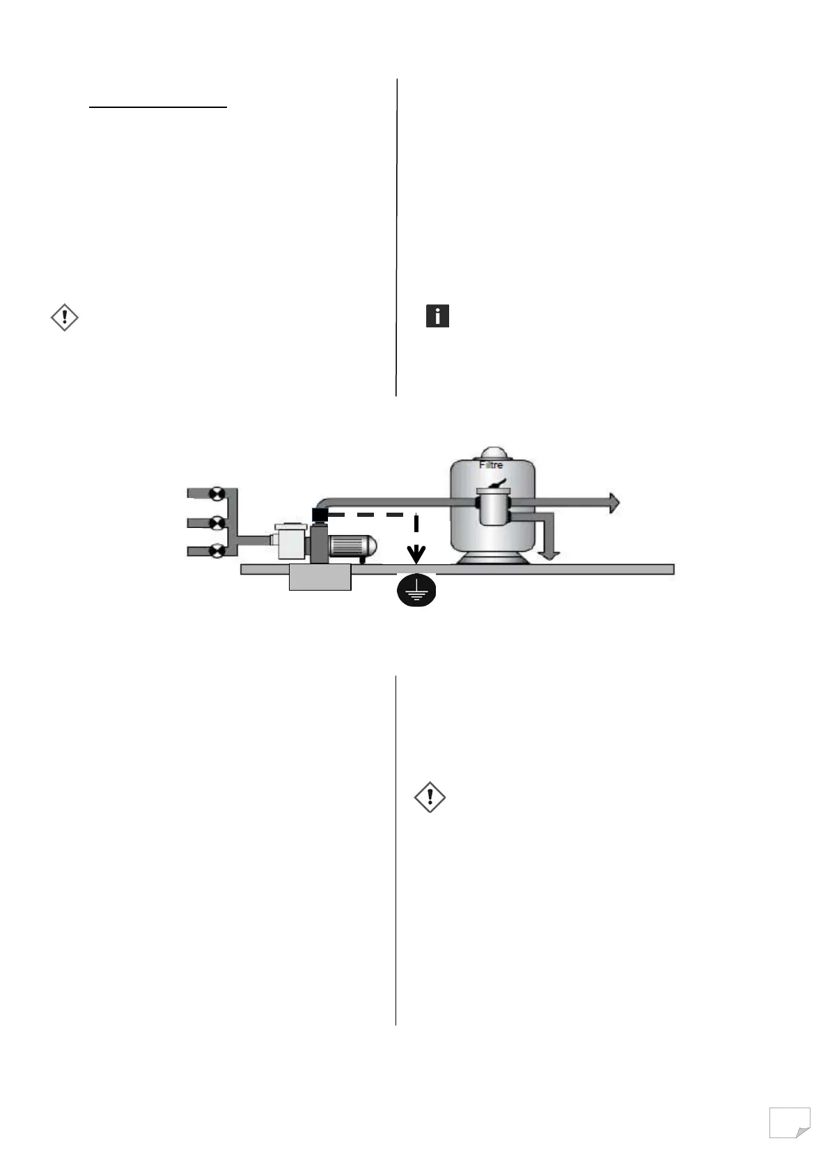
Assembling earths: (Earths exist in 1’’1/2,
or 2’’)
For maximum efficiency, screw the
Earthing sleeve on the pump output.
It is important to provide one
Earthing sleeve for each pump installed
on the filtration system.
Place an earthing rod in a location
that retains humidity (in a watered
flowerbed, at the bottom of a tree, etc.).
Connecting the Earth to the Earth of the
house is prohibited for safety reasons.
This installation of the Earthing sleeve
constitutes the earthing of the pool
water and not the earthing of the
equipment.
You must connect the Earthing
sleeve to the Earthing rod using an
Earthing braid with a section of at least
20 mm2.
10. CARE INSTRUCTIONS
If the recommendations regarding the
installation conditions have been
respected, the upkeep of the device will
be limited.
Cut off the power supply before any
intervention.
However, periodic cleaning of the
equipment with a dry cloth is
recommended (do not use aggressive
chemicals that could damage the
equipment, particularly on the
transparent part of the front face).
As with all electrical equipment, a
certain number of periodic checks must
be carried out (every quarter):
check of the electrical connections
check of the conditions of the cables
PUMP
Earth cable of 20 mm2 minimum
towards separate earthing rod
Swimming
pool backflow
Towards drains
Main drain
Skimmer
Brush socket

Table of Contents