EasyManua.ls Logo

Nice Pro-H - Section B: Relay Logic with Interface Module - Part 3; Safety Device Integration; Primary Monitored Safety Device Setup; Secondary Non-Monitored Safety Device Setup

Nice Pro-H
44 pages
Print Icon
To Next Page IconTo Next Page
To Next Page IconTo Next Page
To Previous Page IconTo Previous Page
To Previous Page IconTo Previous Page
Loading...

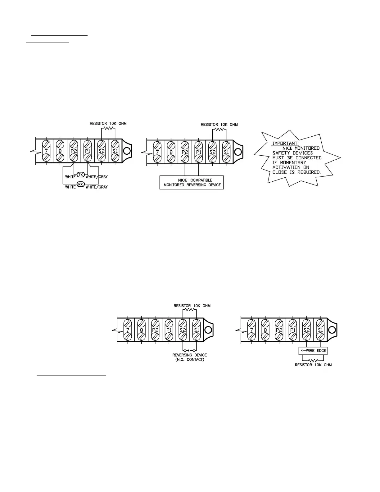
Connect safety devices
ailsafe feature A monitored failsafe safety feature is built into the operator. The operator has provisions to
connect one primary monitored safety device as well as one or more non-monitored safety devices.
Primar monitored safet deice
Nice monitored failsafe photo beams or Nice compatible monitored failsafe devices must be connected to
terminals  and  if momentary close on pushbutton is reuired  mode. If not connected, door can only be
closed by constant pressure on close pushbutton. If constant pressure on close pushbutton is removed before
door reaches full closed position, then door reverses to full open.
ote Onl one monitored failsafe safet deice can be connected across terminals P and P
ote ee section for complete installation instructions for the Nice - or the raba photocells
econdar non-monitored safet deice(s)
A standard -wire safety edge, non-monitored reflective or thru-beam photo eye or any other non-monitored
reversing devices with a N. dry contact can be connected to terminals S and S.
ote More than one secondar non-monitored safet deice can be connected to terminals  and 
mportant o not remoe resistor that is factor installed across terminals  and  unless installing a -wire electric
edge
-wire electric edge onnection
A standard -wire electric edge can be connected across S and S terminals as a secondary safety device. emove
the factory installed resistor across terminals S and S and install resistor across the black and white pair of wires from
the electric edge and connect the remaining black and white wire to the S and S terminals.
 Select Mode of peration
 mode of operation (momentar on open constant pressure on close)
The operator is wired at the factory for momentary on open and constant pressure on close. or commercial
operators, white wire is connected to terminal T.
 mode of operation (momentar on open momentar on close)
If momentary on close is reuired or commercial operators, remove the white wire from terminal T and place it on
terminal T.
The operator functions in  mode only when the primary monitored safety device is connected and functioning
properly. If it is not connected, operator will go into fault mode and door can only be closed by constant pressure
on close and if constant pressure on close is removed before door reaches full close position, door reverses to full
open.

Related product manuals