EasyManua.ls Logo

Nikon D2H - Page 103

Nikon D2H
264 pages
Print Icon
To Next Page IconTo Next Page
To Next Page IconTo Next Page
To Previous Page IconTo Previous Page
To Previous Page IconTo Previous Page
Loading...
91
Taking Photographs—Exposure
Non-CPU Lenses
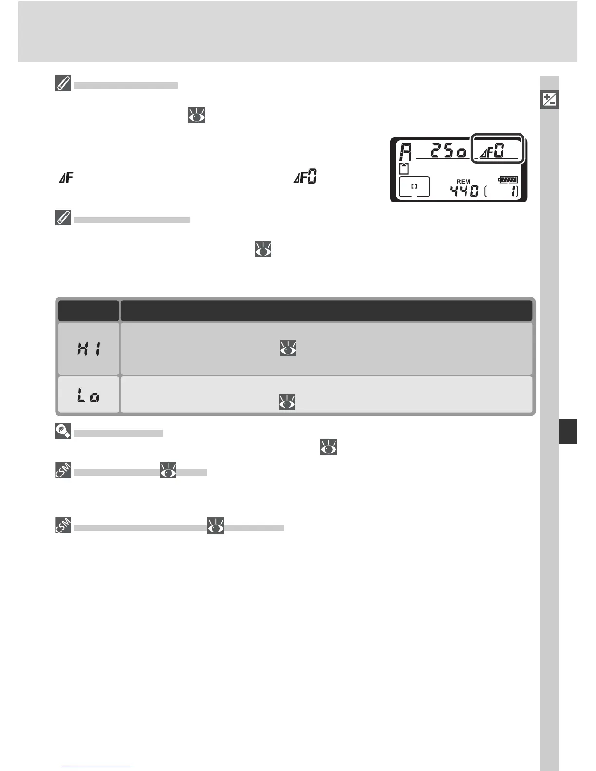
If the maximum aperture of the lens has been specifi ed using the Non-CPU lens data
item in shooting menu ( 124) when a non-CPU lens is attached, the current f/-num-
ber will be displayed in the viewfi nder and top control
panel, rounded to the nearest full stop. Otherwise the
aperture displays will show only the number of stops
(
, with maximum aperture displayed as ) and the
f/-number must be read from the lens aperture ring.
Exposure Warning
If the camera is unable to produce the correct exposure at the selected aperture, the
electronic analog exposure display ( 93) in the viewfi nder will show the amount of
un der- or over-exposure and one of the fol low ing in di ca tors will be dis played in the
con trol panel and viewfi nder shutter-speed displays:
Subject too dark. Choose larger aperture (smaller f/-number) or higher
sensitivity (ISO equivalency; 48), or use optional Speedlight.
DescriptionIndicator
Subject too bright. Choose smaller aperture (larger f/-number) or lower
sensitivity (ISO equivalency; 48), or use optional Neutral Density (ND)
lter.
Aperture Lock
Aperture can be locked at the selected setting ( 94).
b3EV Step ( 184)
This option controls whether changes to shutter speed and aperture are made in in cre -
ments equiv a lent to
1
/
3 EV (the default setting), ½ EV, or 1 EV.
f5Command Dials ( 202–203)
Command dials > Change Main / Sub and Command dials > Aperture setting con-
trol whether aperture is assigned with the main command dial, the sub-command dial,
or the lens aperture ring. Regardless of the settings chosen, the command dials are
always used with type G lenses, the lens aperture ring with non-CPU lenses.

Table of Contents

Other manuals for Nikon D2H

Related product manuals