EasyManua.ls Logo

Nikon D2H - Page 237

Nikon D2H
264 pages
Print Icon
To Next Page IconTo Next Page
To Next Page IconTo Next Page
To Previous Page IconTo Previous Page
To Previous Page IconTo Previous Page
Loading...
225
Connections—Connecting to a Computer
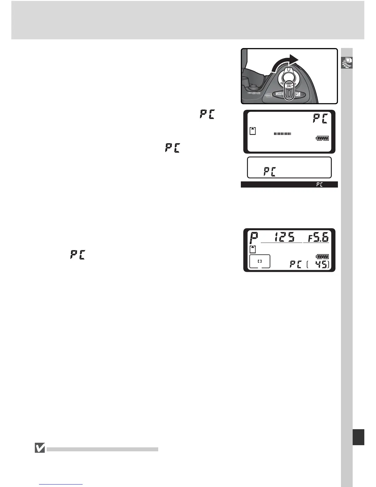
If Mass Storage is selected for USB, will
be displayed in the rear control panel and
viewfi nder. The aperture display in the top
control panel will also show , and the PC
mode indicator will fl ash (if PTP is selected,
the camera displays will only change when
Nikon Capture 4 Camera Control is run-
ning). Photographs can be transferred to the
computer as described in the documentation
provided on the reference CD.
If the Nikon Cap ture 4 Camera Control com-
ponent is run ning, the top control panel will
show
in place of the number of exposures
remaining. Any photographs taken will be re-
cord ed to the com put er hard disk rath er than
the cam era mem o ry card. See the Nikon Cap-
ture 4 User’s Man u al for more in for ma tion.
4
Turn the camera on.
Do Not Turn the Camera Off
Do not turn the camera off while transfer is in progress.

Table of Contents

Other manuals for Nikon D2H

Related product manuals