EasyManua.ls Logo

Noble UH30 - Wash Manifold Assembly

Noble UH30
64 pages
Print Icon
To Next Page IconTo Next Page
To Next Page IconTo Next Page
To Previous Page IconTo Previous Page
To Previous Page IconTo Previous Page
Loading...
35
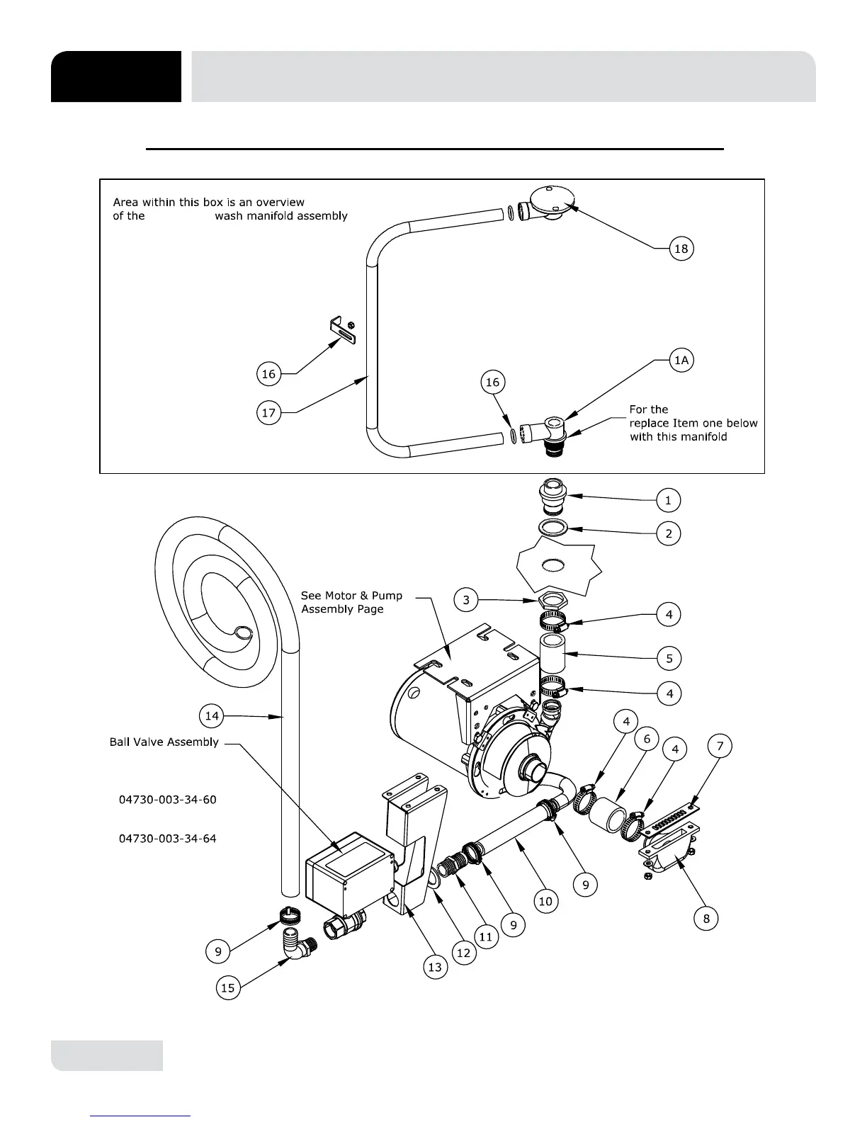
NOBLE UL30 WASH MANIFOLD ASSEMBLY
PARTS
Noble UL30
Noble UL30
NOBLE UH30 480V:
NOBLE UL30 115V &
NOBLE UH30 230V:
WASH MOTOR/DRAIN PLUMBING/NOBLE UL30 WASH MANIFOLD ASSEMBLY

Related product manuals