EasyManua.ls Logo

Notifier NOTI-FIRE-NET - Power Supply Connections

Notifier NOTI-FIRE-NET
24 pages
To Next Page IconTo Next Page
To Next Page IconTo Next Page
To Previous Page IconTo Previous Page
To Previous Page IconTo Previous Page
Loading...
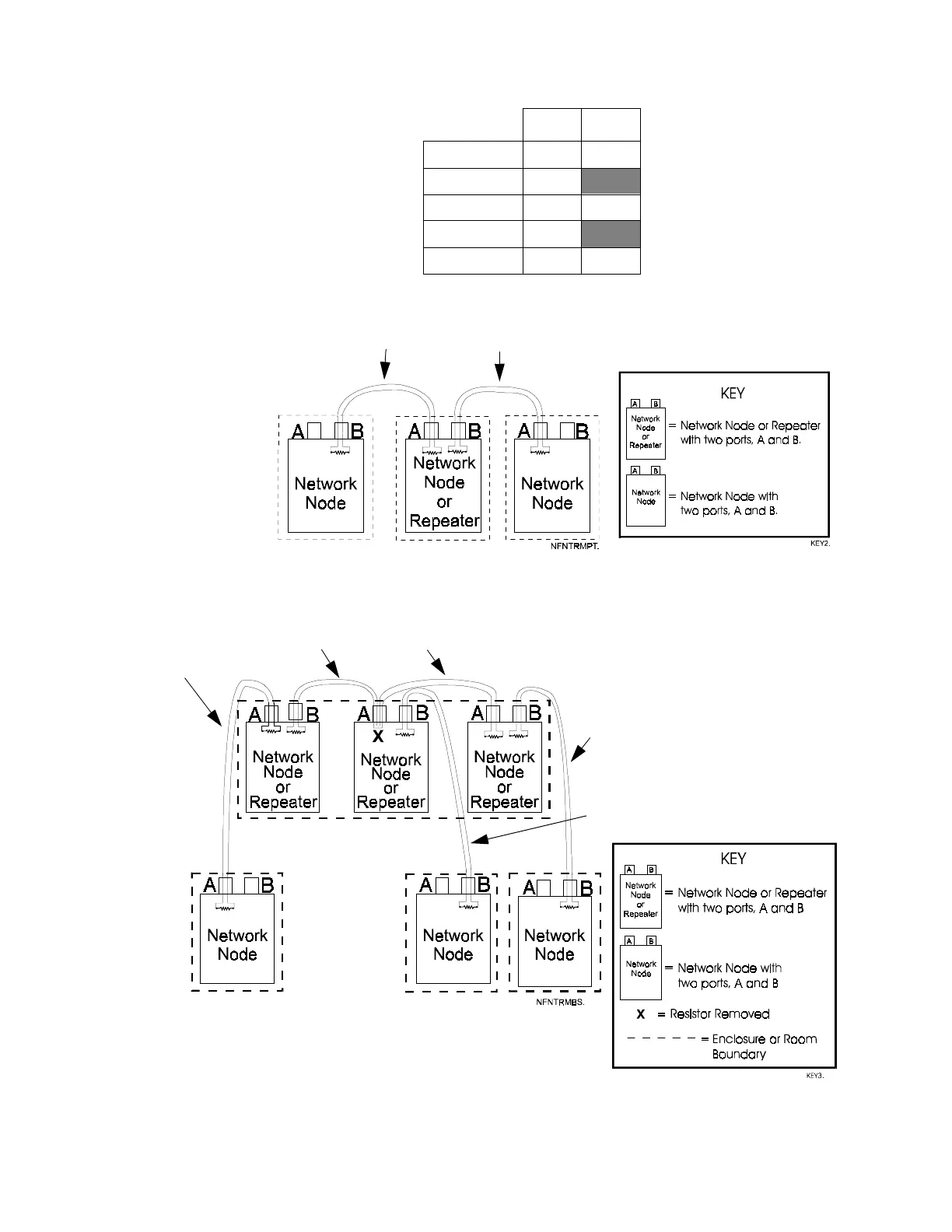
Terminating Point-To-Point and Bus Configurations
16 NOTI•FIRE•NET™ PN 50257:E 7/5/01
Table 5 On-Board Terminating Resistors
Figure 10 Point-To-Point Termination
Figure 11 Bus Termination
Port A Port B
RPT-W R40 R41
RPT-WF R40
MIB-W R20 R21
MIB-WF R20
NAM-232W R69 R70
These point-to-point circuit segments are terminated at each node/repeater.
A bus circuit spans multiple nodes/repeaters with a terminating
resistor at each end of the circuit segment.
A point-to-point circuit
link, terminated at each
end with a resistor.
A point-to-point
circuit link,
terminated at each end
with a resistor.
A point-to-point circuit
link, terminated at each end
with a resistor.
Technical Manuals Online! - http://www.tech-man.com
firealarmresources.com

Other manuals for Notifier NOTI-FIRE-NET

Related product manuals