EasyManua.ls Logo

Novy 3774 - 3 Gerätebeschreibung

Novy 3774
Print Icon
To Next Page IconTo Next Page
To Next Page IconTo Next Page
To Previous Page IconTo Previous Page
To Previous Page IconTo Previous Page
Loading...
Gerätebeschreibung
38
D
3 Gerätebeschreibung
Bedienung durch Sensortasten
Die Bedienung des Glaskeramik-Kochfeldes erfolgt durch
Touch-Control Sensortasten. Die Sensortasten funktio-
nieren wie folgt: mit der Fingerspitze ein Symbol auf der
Glaskeramikoberfl äche kurz berühren. Jede korrekte Betä-
tigung wird durch einen Signalton bestätigt.
Nachfolgend wird die Touch-Control Sensortaste als „Tas-
te” bezeichnet.
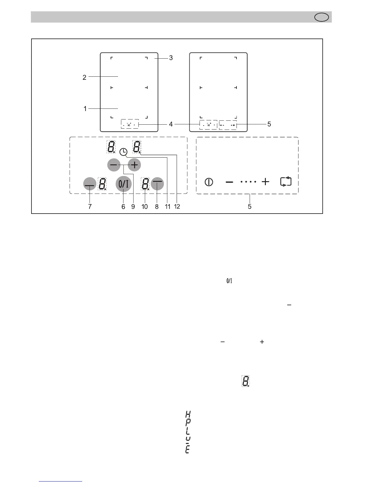
Ein-/Aus-Taste (6)
Mit dieser Taste wird das gesamte Kochfeld ein- und aus-
geschaltet. Die Taste ist sozusagen der Hauptschalter.
Kochzonenauswahl-Taste; z.B. vorne (7)
Durch Betätigung einer der zur Verfügung stehenden
Kochzonenauswahl-Tasten wird eine Kochzone aus-
gewählt, für die anschließend mit der Plus-Taste oder
Minus-Taste eine Kochstufe eingestellt werden kann.
Minus-Taste / Plus-Taste (9)
Mit diesen Tasten werden die Einstellungen der Kochstu-
fen, der Abschaltautomatik und des Kurzzeitweckers vor-
genommen. Durch die Minus-Taste wird der Anzeigewert
verringert, durch die Plus-Taste erhöht.
Kochstufen-Anzeige (10)
Die Kochstufen-Anzeige zeigt die gewählte Kochstufe,
oder:
leuchtet hell ........... Kochzone ist ausgewählt (selektiert)
........................... Restwärmeanzeige
........................... Powerstufe
.......................... Kindersicherung
........................... Topferkennung
........................... Fehlermeldung
Kontrolllampe ........ Timerfunktion
Das Dekor kann von den Abbildungen abweichen.
1. Induktionskochzone vorne
2. Induktionskochzone hinten
3. Glaskeramik-Kochfeld
4. Touch-Control Bedienfeld
5. Bedienung Muldenlüfter (3775)
6. Ein-/Aus-Taste
7. Kochzonenauswahl-Taste vorne
8. Kochzonenauswahl-Taste hinten
9. Plus-Taste (erhöhen) / Minus-Taste (verringern)
10. Kochstufen-Anzeige
11. Symbol für Timerfunktion
12. Kontrolllampe: leuchtet bei Timerfunktion
3774
3775

Table of Contents

Related product manuals