EasyManua.ls Logo

Novy 3774 - 3 Descripción del Aparato

Novy 3774
Print Icon
To Next Page IconTo Next Page
To Next Page IconTo Next Page
To Previous Page IconTo Previous Page
To Previous Page IconTo Previous Page
Loading...
Descripción del aparato
86
E
3 Descripción del aparato
Manejo mediante teclas de sensor
El manejo del campo de cocción de vitrocerámica se lleva
a cabo por medio de teclas de sensor Touch-Control. Las
teclas de sensor funcionan como se indica a continuación:
tocar con la punta del dedo brevemente un símbolo de la
superfi cie de vitrocerámica. Una señal acústica confi rma
cada accionamiento correcto.
Por motivos de brevedad, en lo sucesivo, las teclas de
sensor Touch-Control serán denominadas brevemente
como «teclas».
Tecla de encendido / apagado (6)
Con esta tecla se conecta y desconecta la totalidad de la
encimera. La tecla es, por así decir, el interruptor principal.
Tecla de selección de zonas de cocción; p.ej delante (7)
Pulsando una de las teclas de selección de zonas de
cocción disponibles se selecciona una zona de cocción,
para la que seguidamente es posible ajustar un nivel de
cocción por medio de la tecla Más o la tecla Menos.
Tecla menos / más (9)
Con estas teclas se llevan a cabo los ajustes de los
niveles de cocción, del automatismo de desconexión y del
temporizador electrónico. Con la tecla Menos se reduce el
valor indicado, y con la tecla Más se aumenta.
Indicador de nivel de cocción (10)
La indicación del nivel de cocción indica el nivel de cocción
seleccionado, o bien:
relumbra .................La zona de cocción está seleccionada
............................Indicación de calor residual
............................Nivel «power»
............................Seguro para niños
............................Reconocimiento de recipientes
............................Aviso de error
Lámpara de control Función de temporizador
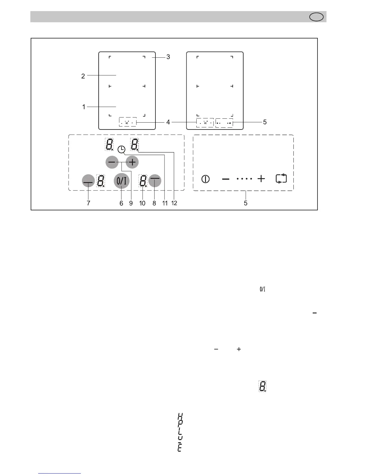
La decoración puede diferir de la representada en las
guras.
1. Zona de cocción por inducción delante
2. Zona de cocción por inducción detrás
3. Encimera de vitrocerámica
4. Panel de mando Touch-Control
5. Funcionamiento del ventilador de la placa de cocción
(3775)
6. Tecla de encendido/apagado
7. Tecla de selección de la zona de cocción delantera
8. Tecla de selección de la zona de cocción trasera
9. Tecla Más (aumentar) / Tecla Menos (disminuir)
10. Indicador de nivel de cocción
11. Símbolo de la función de temporizador
12. Lámpara de control: se ilumina con la función de
temporizador
3774
3775

Table of Contents

Related product manuals