EasyManua.ls Logo

Novy 3775 - 3 Description de Lappareil

Novy 3775
Print Icon
To Next Page IconTo Next Page
To Next Page IconTo Next Page
To Previous Page IconTo Previous Page
To Previous Page IconTo Previous Page
Loading...
Description de l’appareil
22
F
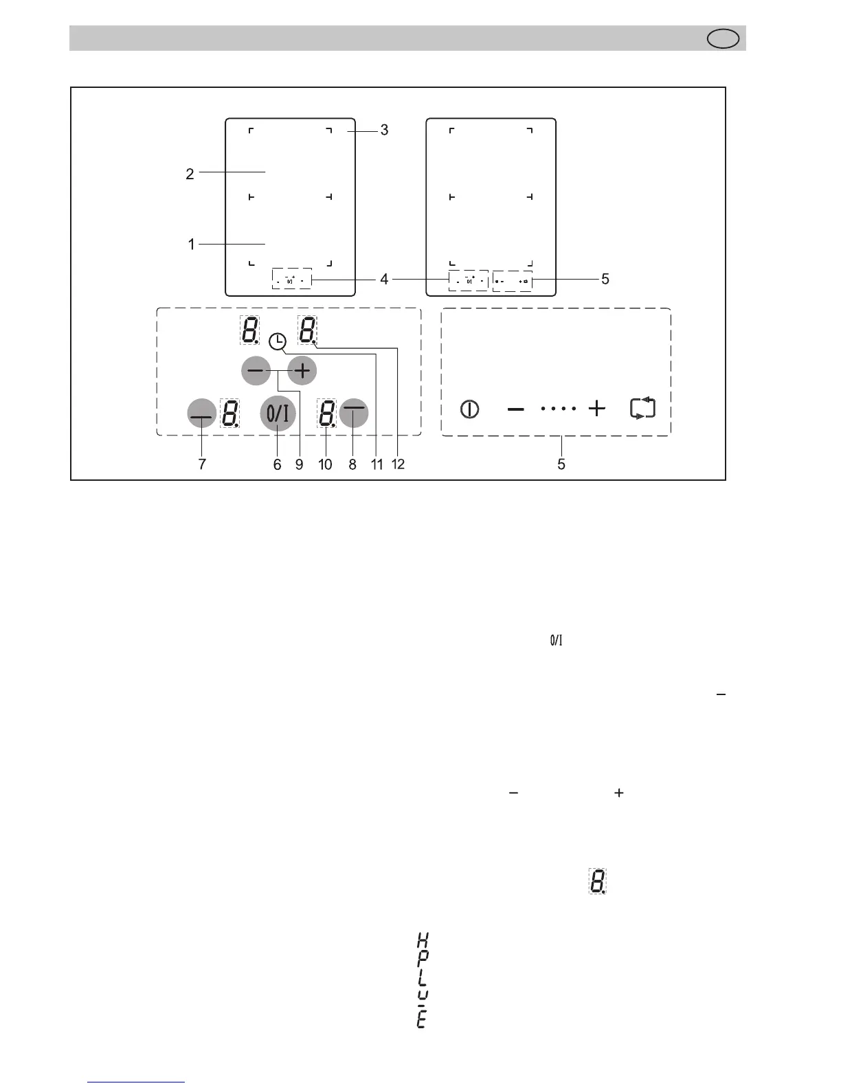
3 Description de l’appareil
Commande par touches sensitives
La commande de la table vitrocéramique se fait via
les touches sensitives Touch-Control. Les touches
sensitives fonctionnent de la manière suivante : effl eurez
brièvement, avec la pointe du doigt, un symbole sur la
surface vitrocéramique. Chaque appui correctement
eff ectué est confi rmé par un signal sonore.
Par la suite, la touche sensitive Touch-Control est
appelée « touche ».
Touche Marche/Arrêt (6)
Avec cette touche, toute la table de cuisson est mise en
marche ou arrêtée. Il s’agit du commutateur principal.
Touche de sélection zone de cuisson ; p. ex. avant (7
)
L’appui sur l’une des touches de sélection zones de
cuisson, vous permet de sélectionner une zone de
cuisson à disposition, pour la laquelle, ensuite, avec la
touche Plus ou Moins vous pouvez régler une position de
cuisson.
Touche Moins / Touche Plus (9)
Ces touches permettent de régler les positions de
cuisson, l’arrêt automatique et la minuterie (sablier). Avec
la touche Moins, vous diminuez la valeur affi chée, avec la
touche Plus vous l’augmentez.
Affi chage allure de cuisson (10)
L’affi chage indique l'allure de cuisson sélectionnée, ou:
allumé clair ................ Zone de cuisson sélectionnée
............................... Témoin de chaleur résiduelle
............................... Intensité «Power»
............................... Sécurité enfants
............................... Détection des récipients
............................... Message d’erreur
Voyant de contrôle .... Fonction Minuterie
Le décor peut être diff érent de celui illustré.
1. Zone de cuisson à induction avant
2. Zone de cuisson à induction arrière
3. Table de cuisson vitrocéramique
4. Panneau de commande Touch Control
5. Commande hotte plan de travail (3775)
6. Touche Marche/Arrêt
7. Touche de sélection Zones de cuisson avant
8. Touche de sélection Zone de cuisson arrière
9. Touche Plus (augmenter) / Touche Moins (réduire)
10. Affi chage position de cuisson
11. Symbole pour la fonction Timer
12. Voyant de contrôle, allumé en mode Timer
3774
3775

Table of Contents

Related product manuals