EasyManua.ls Logo

Novy 3775 - 3 Beschrijving Van Het Toestel

Novy 3775
Print Icon
To Next Page IconTo Next Page
To Next Page IconTo Next Page
To Previous Page IconTo Previous Page
To Previous Page IconTo Previous Page
Loading...
Beschrijving van het toestel
6
NL
3 Beschrijving van het toestel
Bediening met sensortoetsen
De bediening van de keramische kookplaat gebeurt
met touch-control-sensortoetsen. De sensortoetsen
functioneren als volgt: met de vingertop kort een symbool
op het keramische oppervlak aanraken. Elke correcte
bediening wordt door een signaaltoon bevestigd.
In de rest van de tekst wordt voor de touch-control-
sensortoets het woord 'toets' gebruikt.
Aan/Uit-toets (6)
Met deze toets wordt de volledige kookplaat in- en
uitgeschakeld. De toets is bij wijze van spreken de
hoofdschakelaar.
Kookzonekeuzetoets, bijv. voor (7)
Door op een van de beschikbare kookzonekeuzetoetsen
te drukken wordt een kookzone geselecteerd, waarvoor
vervolgens met de plus-toets of min-toets een kookstand
kan worden ingesteld.
Min-toets / Plus-toets (9)
Met deze toetsen worden de kookstanden, de
automatische uitschakeling en de kookwekker ingesteld.
Met de min-toets wordt de aangetoonde waarde
verlaagd, met de plus-toets verhoogd.
Kookstandweergave (10)
De kookstandweergave toont de gekozen kookstand, of:
brandt fel .............. Kookzone is gekozen (geselecteerd)
.......................... Restwarmte-indicatie
.......................... Powerstand
.......................... Kinderbeveiliging
.......................... Panherkenning
.......................... Foutmelding
Controlelampje .... Timerfunctie
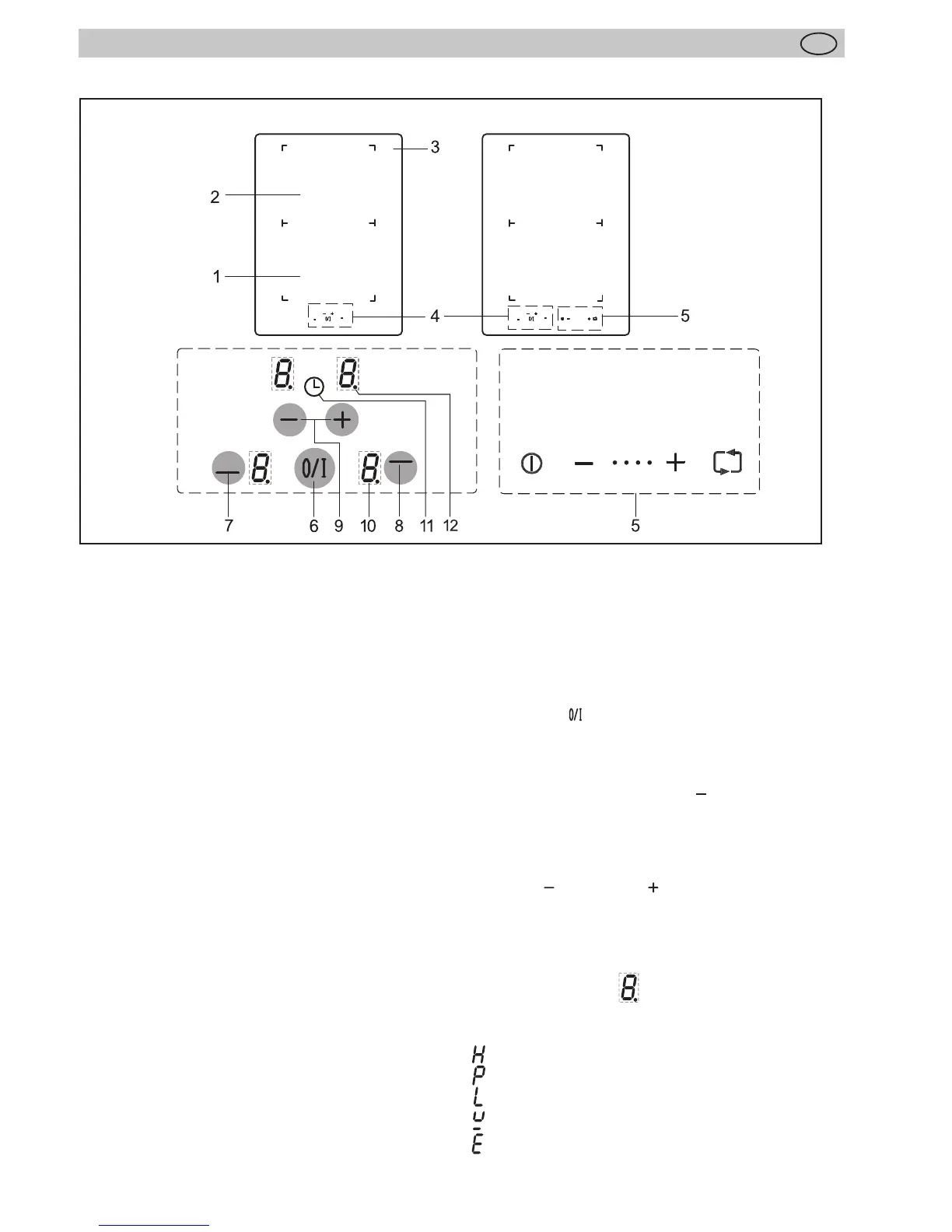
Het decor kan van de afbeeldingen afwijken.
1. Inductiekookzone voor
2. Inductiekookzone achter
3. Keramische kookplaat
4. Touch-control-bedieningsveld
5. Bediening werkbladafzuiging
6. Aan/Uit-toets
7. Kookzonekeuzetoets (voor)
8. Kookzonekeuzetoets (achter)
9. Plus-toets (verhogen) / Min-toets (verlagen)
10. Kookstandweergave
11. Symbool voor timerfunctie
12. Controlelampje: brandt bij timerfunctie
3774
3775

Table of Contents

Related product manuals