EasyManua.ls Logo

NTI FTG 600 - Page 26

NTI FTG 600
88 pages
Print Icon
To Next Page IconTo Next Page
To Next Page IconTo Next Page
To Previous Page IconTo Previous Page
To Previous Page IconTo Previous Page
Loading...
Installation & Operation Manual FTG
26
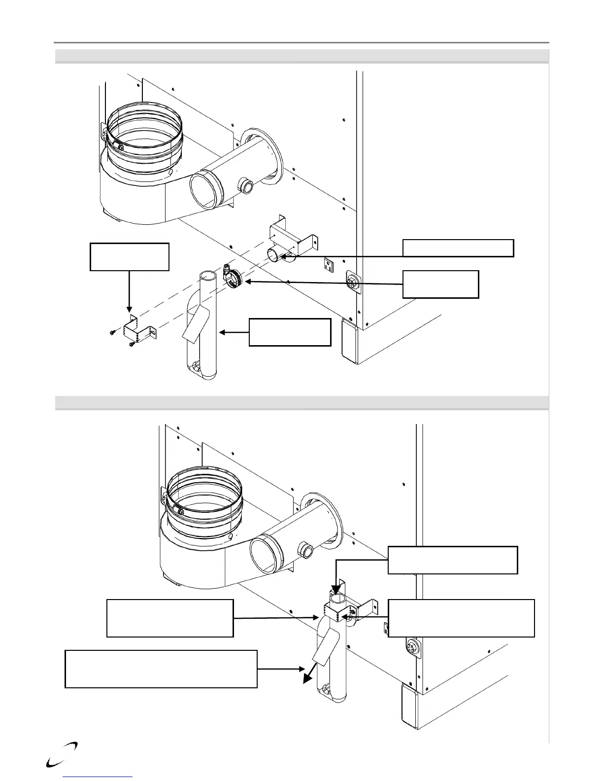
Figure 6-1(a) Condensate Drain Trap Exploded View
Figure 6-1(b) Condensate Drain Trap - Assembled
Condensate Trap
(factory supplied)
Gear Clamp
(factory supplied)
Boiler Condensate Drain
Support Bracket
(factory supplied)
Tighten Gear Clamp
securing Condensate Trap
to Boiler Condensate Drain.
Direct condensate to a vented drain, ensure
no strain is applied to the Condensate Trap
and Boiler Condensate Drain.
Prime Condensate Trap with
water before firing boiler
Position the Condensate Trap
inside the Support Bracket, then
fasten the bracket to the boiler.

Other manuals for NTI FTG 600

Related product manuals