EasyManua.ls Logo

NTI FTG 600 - Page 38

NTI FTG 600
88 pages
Print Icon
To Next Page IconTo Next Page
To Next Page IconTo Next Page
To Previous Page IconTo Previous Page
To Previous Page IconTo Previous Page
Loading...
Installation & Operation Manual FTG
38
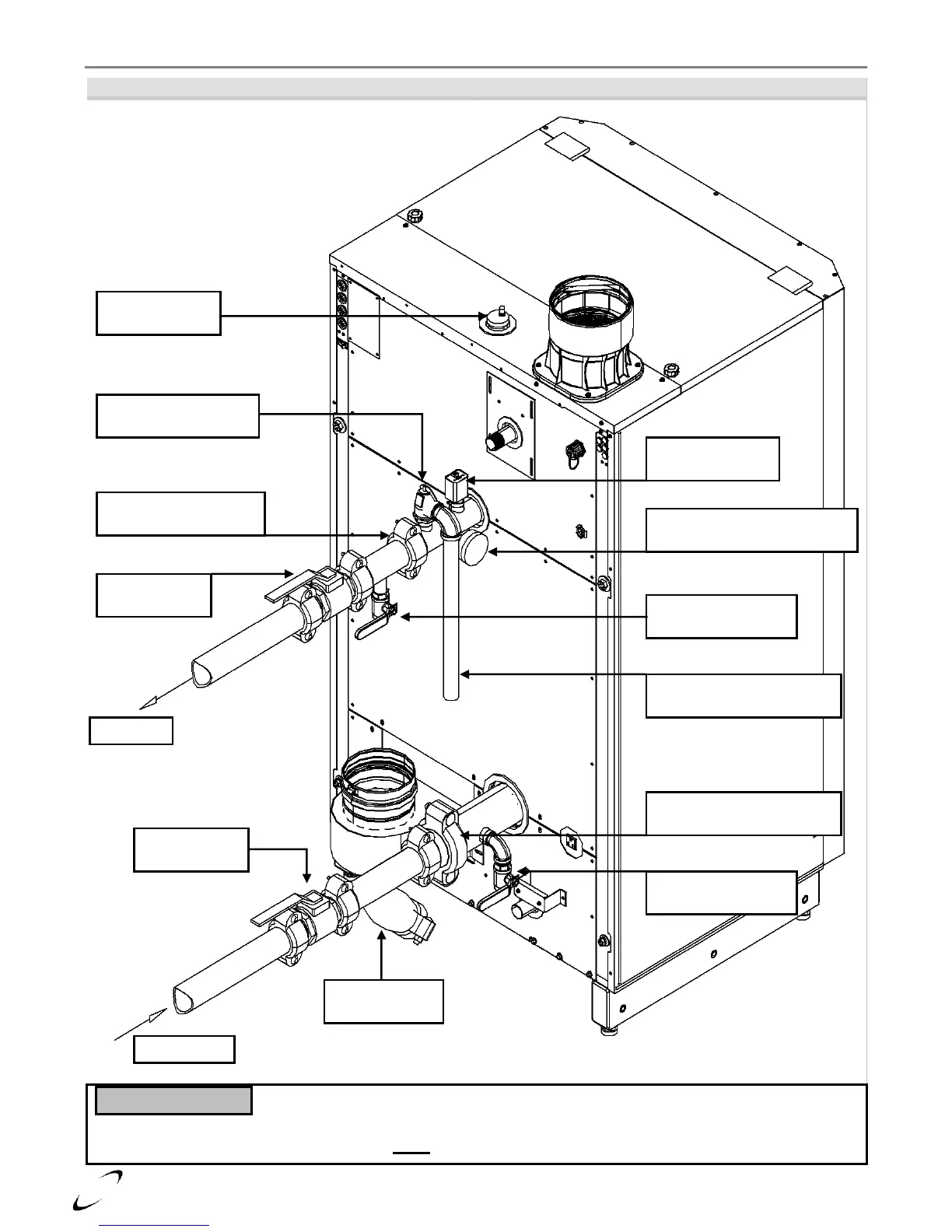
Figure 10-1 Near Boiler Piping
ATTENTION: Boiler piping can be adapted to ANSI pipe thread, flange, or other style piping
connection, immediately upon exiting the boiler. With the exception of the boiler inlet and outlet fittings,
Grooved Joint style piping connections are NOT required.
Low Water Cutoff
(factory installed)
Pressure Relief Valve
(factory supplied)
Pressure/Temperature Gauge
(factory supplied)
Groove Joint Coupling
(factory supplied)
3 in. Groove Joint Coupling
(factory supplied)
Isolation Valve
(Typical)
Y-Strainer
(recommended)
Boiler Drain / Back-
flush Valve (typical)
Relief Valve Outlet
Directed Downward (typical)
To System
From System
Isolation Valve
(Typical)
Boiler Drain / Back-
flush Valve (typical)
Auto Air Vent
(factory supplied)

Other manuals for NTI FTG 600

Related product manuals