EasyManua.ls Logo

Nuvo Koolspace 250 - Page 7

Nuvo Koolspace 250
16 pages
Print Icon
To Next Page IconTo Next Page
To Next Page IconTo Next Page
To Previous Page IconTo Previous Page
To Previous Page IconTo Previous Page
Loading...
~6~
~7~
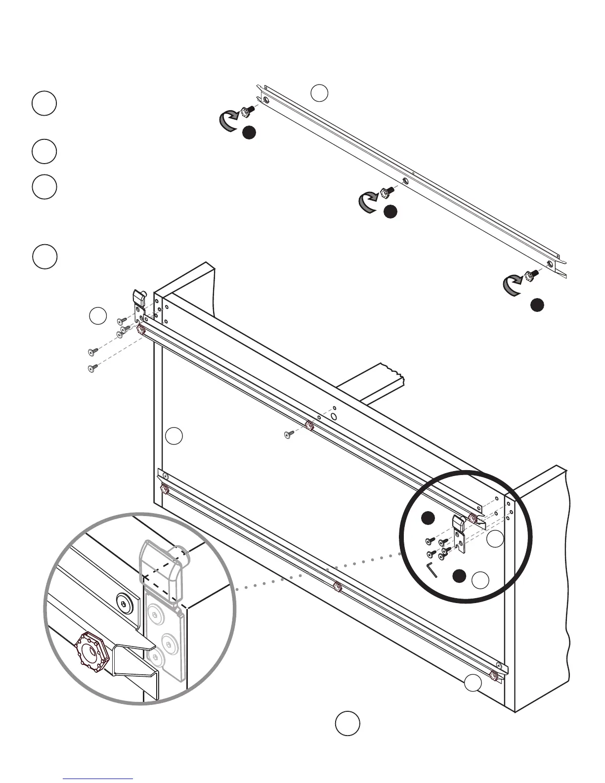
Open Box VP3.
Fasten one HINGE (found in
door box) to the SIDE of the
cabinet
Install four LEGS (H) into
BASES fully in.
Fasten FRONT BASE to
the BOTTOM of the cabinet
(FRONT BASE has to be set
with end tabs away from front
edge)
Fasten BASE with HEX BOLTS
(B)
4
1
3
4
STEP 3 : HINGE,BASE AND LEGS INSTALLATION
Raise cabinet and check for potential air
leaks at panel joints from inside.
2
3
1
H
D
B
NOTE: Fasten base with base tab away from the
front edge, then fasten and adjust the hinge
before fully tightening HEX BOLTS (B)
H
5
5
H
1
2
BOTTOM OF CABINET

Related product manuals