EasyManua.ls Logo

Oasis PACSL - Page 17

Oasis PACSL
24 pages
Print Icon
To Next Page IconTo Next Page
To Next Page IconTo Next Page
To Previous Page IconTo Previous Page
To Previous Page IconTo Previous Page
Loading...
2. Set the wall frame onto the gasket. Center it left/right and push it against
the wall and mark hole locations for wall fasteners. The gasket will set the
frame at the proper height.
3. Secure frame to the wall with fasteners (not provided). Pull plastic
tubing up through the hole in the frame.
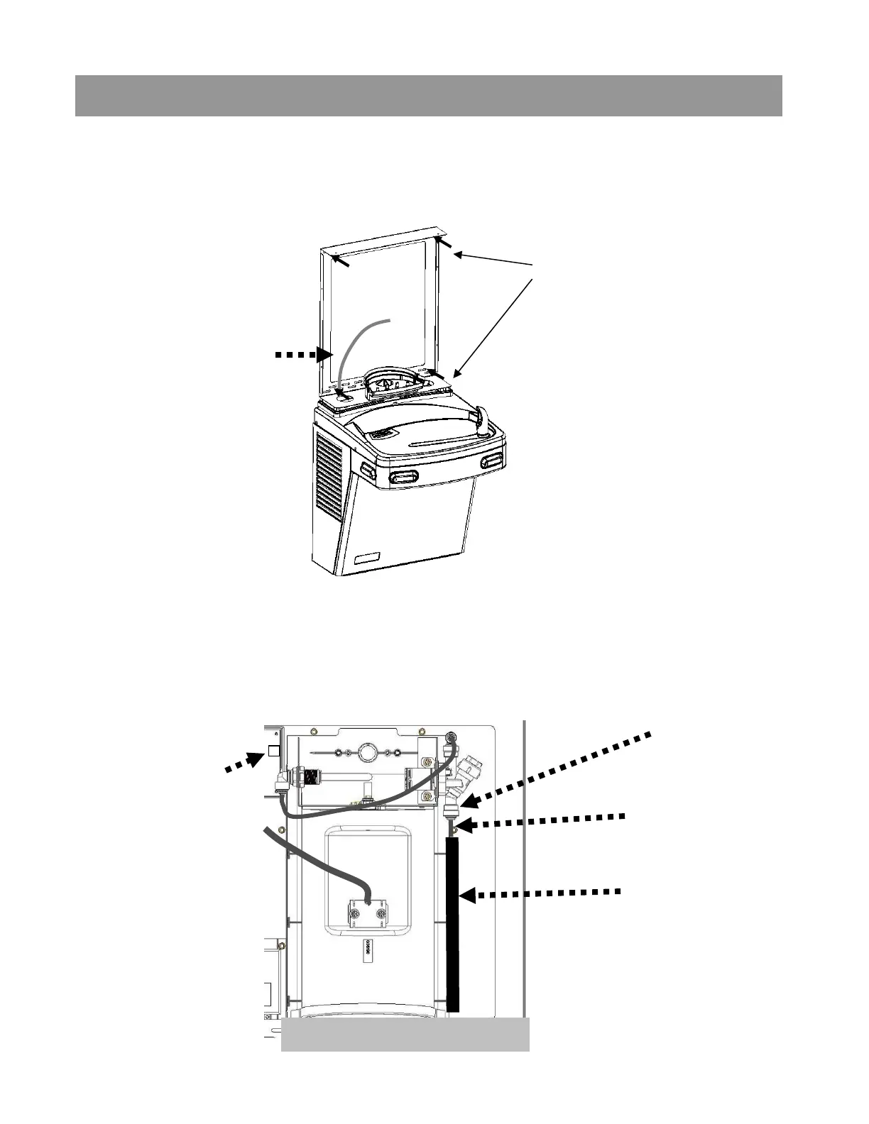
Use mounting slots that
will provide the proper
securing location.
Make sure to pull
the plastic tubing
and flow switch
wire (if applicable)
up through the
hole in the frame.
4. Slide sponge tubing insulation over water line. Connect the tubing to the
INLET of the solenoid on the back of the Hands-free VersaFiller assembly
and flow switch connector into port on circuit board.
Connect tube
to inlet of the
valve
Plastic tubing
Rear view of VersaFiller
Section 3: Installation
Sponge tubing
insulation
Insert
connector on
end of flow
switch wire
into port on
circuit board

Other manuals for Oasis PACSL

Related product manuals