EasyManua.ls Logo

Oceanic 0CS30 - Page 12

Oceanic 0CS30
18 pages
Print Icon
To Next Page IconTo Next Page
To Next Page IconTo Next Page
To Previous Page IconTo Previous Page
To Previous Page IconTo Previous Page
Loading...
Oceanic Sauna Heater
12
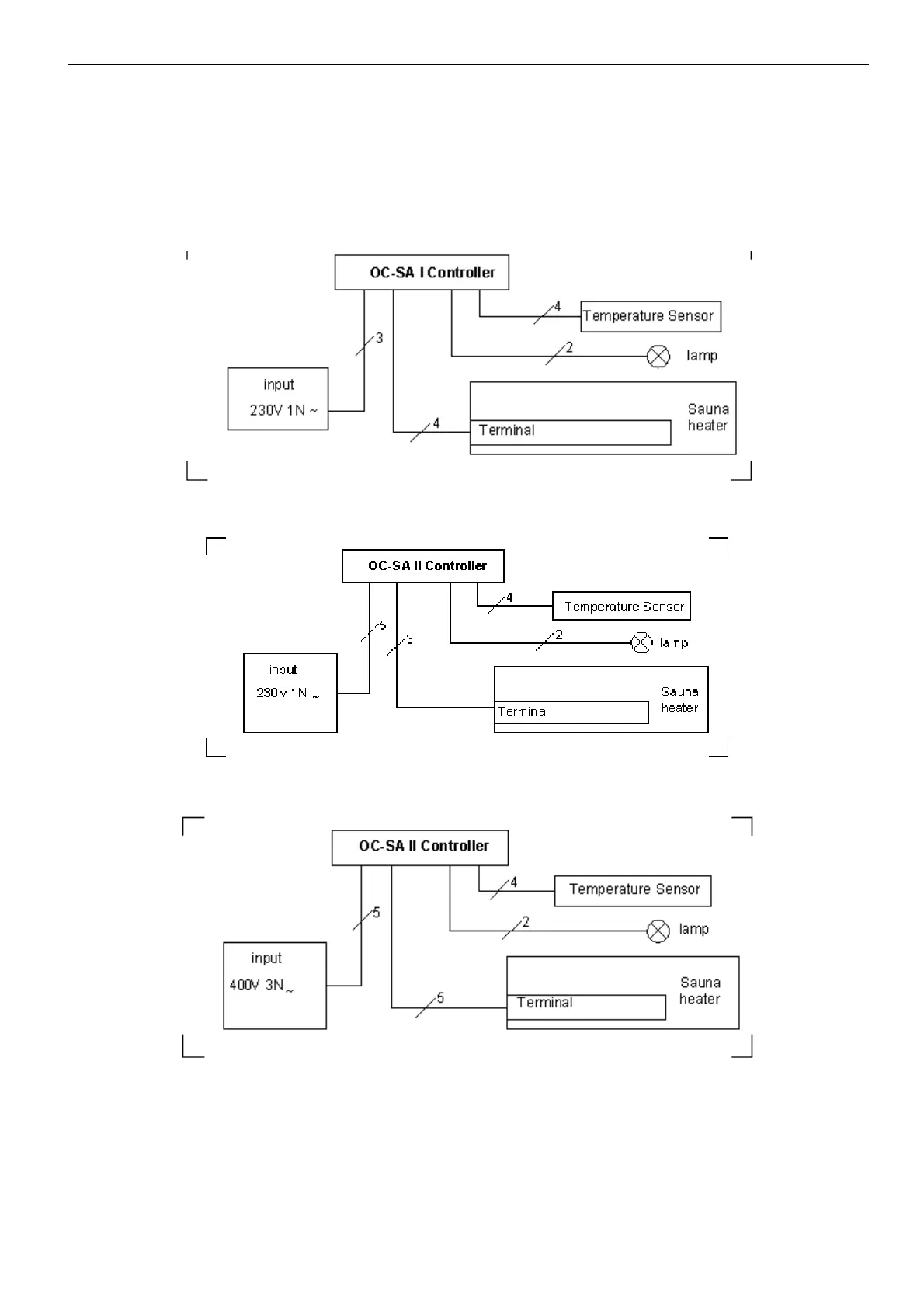
5. Sauna heater, controller and temperature sensor connection drawing (Fig10A, Fig 10B, F869g 10C)
(Fig 10A)
(Fig 10B)
(Fig 10C)

Related product manuals