EasyManua.ls Logo

Oemtools 24815 - Parts List and Diagram

Oemtools 24815
8 pages
Print Icon
To Next Page IconTo Next Page
To Next Page IconTo Next Page
To Previous Page IconTo Previous Page
To Previous Page IconTo Previous Page
Loading...
6
Operating Instructions and Parts Manual 24815
SANDBLAST BENCH TOP CABINET
5/19
2019 OEMTOOLS
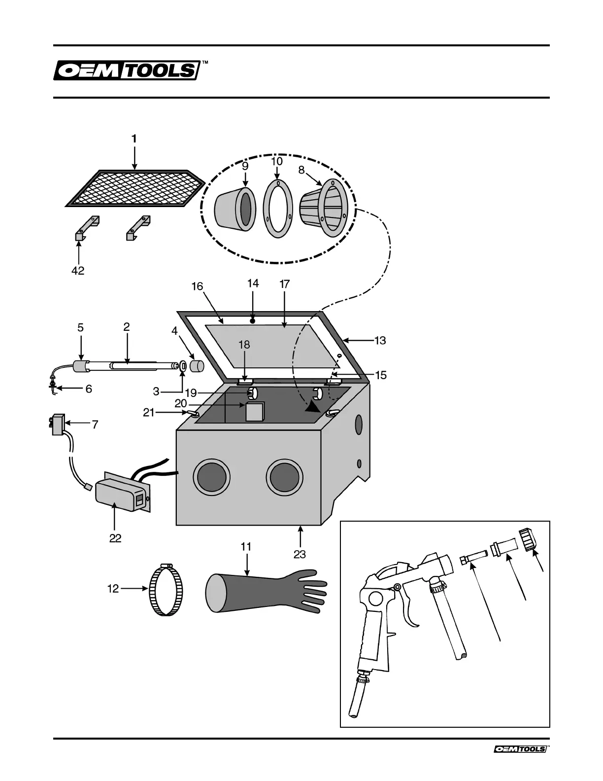
PARTS LIST AND DIAGRAM
36
24
25
26

Related product manuals