EasyManua.ls Logo

Olympus BX3M-PSLED - Assembly

Olympus BX3M-PSLED
24 pages
Print Icon
To Next Page IconTo Next Page
To Next Page IconTo Next Page
To Previous Page IconTo Previous Page
To Previous Page IconTo Previous Page
Loading...
11
BX3M-PSLED
5 Assembly
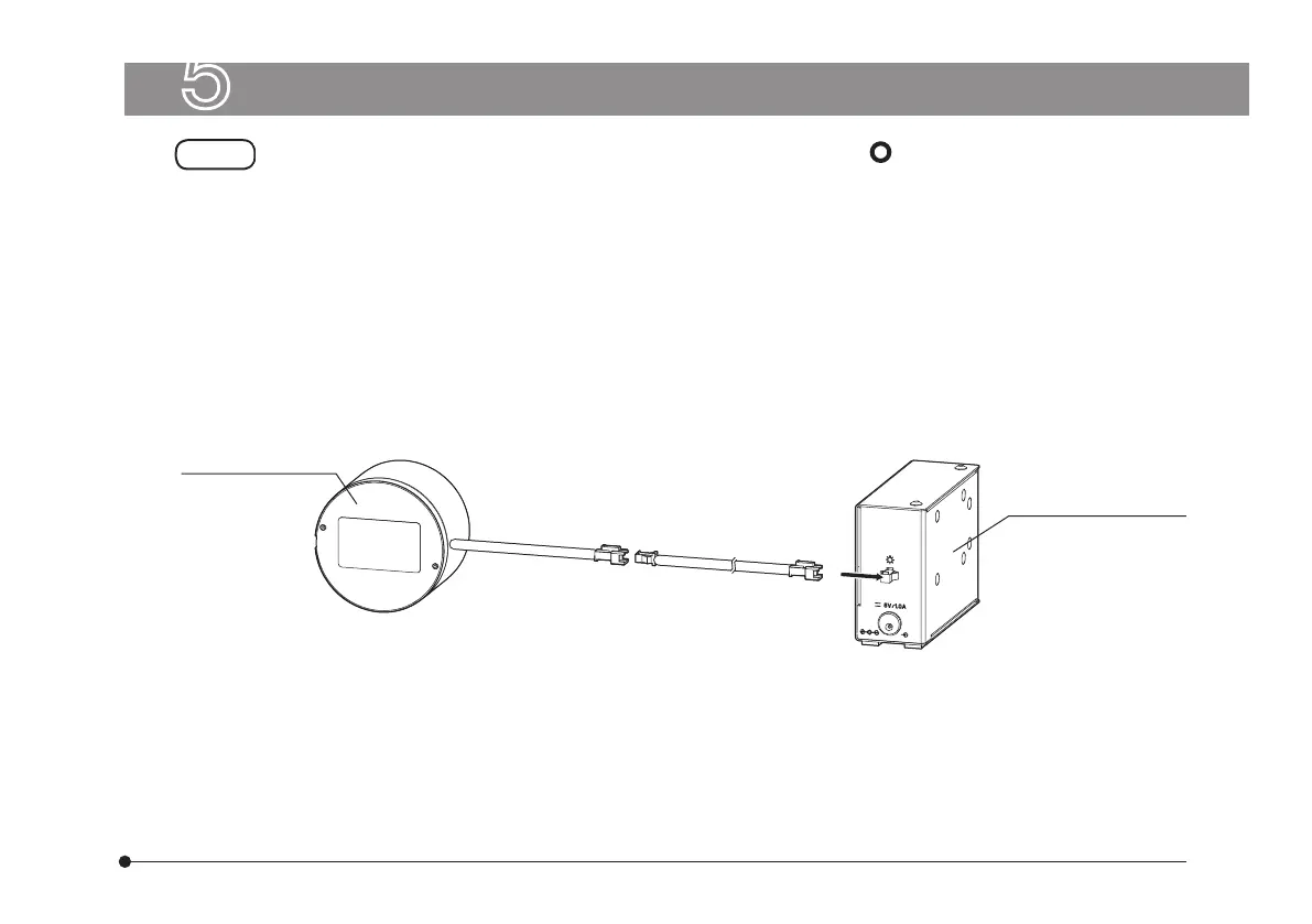
· Before connecting or disconnecting cables, set the main switch to (OFF) and unplug the power cord
from the outlet.
· Cables are vulnerable when bent or twisted. Never subject them to excessive force.
· Connect the connectors in the correct orientation paying attention to the shape of the connector.
NOTE
LED lamp housing
Power supply for LED
BX3M-PSLED
LED cable

Related product manuals