EasyManua.ls Logo

Olympus CAMEDIA E 10 - Page 137

Olympus CAMEDIA E 10
203 pages
Print Icon
To Next Page IconTo Next Page
To Next Page IconTo Next Page
To Previous Page IconTo Previous Page
To Previous Page IconTo Previous Page
Loading...
135
8
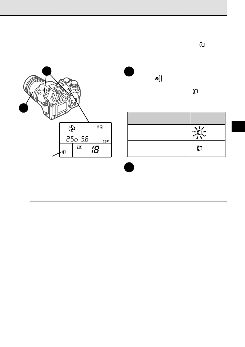
Selecting conversion lens mode with conversion lens
attached
When a conversion lens is attached to the camera, switch on the conversion lens mark in the
control panel.
1
Press and hold down the macro
button
, and then turn the main
dial or sub dial until you see the
conversion lens mark
in the
control panel.
The display is set as follows.
2
Set the zoom position according to
the type of conversion lens that
you are using. ( 133)
Note
The composite F number after the conversion lens is attached to the camera is the same as the F
number on the camera, and changes to F2.8 only after the 3x Extension Lens Tele 300 Pro is
attached. Please use F2.8 or higher.
When the camera is in the conversion lens mode, AF (automatic focus) is conducted only by the
CCD. For more details about the shooting distances and ranges for conversion lenses used with
this camera, please refer to the Olympus web site.
Control panel
Conversion lens
mark display
1
2
Conversion Lens
3x Extension Lens Tele
300 Pro TCON-300
Other conversion lenses
blinks
lights
Control Panel
Display

Table of Contents

Related product manuals