EasyManua.ls Logo

Omron C200HX-CPU64 - C200 HS-INT01 Interrupt Input Unit

Omron C200HX-CPU64
241 pages
Print Icon
To Next Page IconTo Next Page
To Next Page IconTo Next Page
To Previous Page IconTo Previous Page
To Previous Page IconTo Previous Page
Loading...
Appendix BSpecifications
176
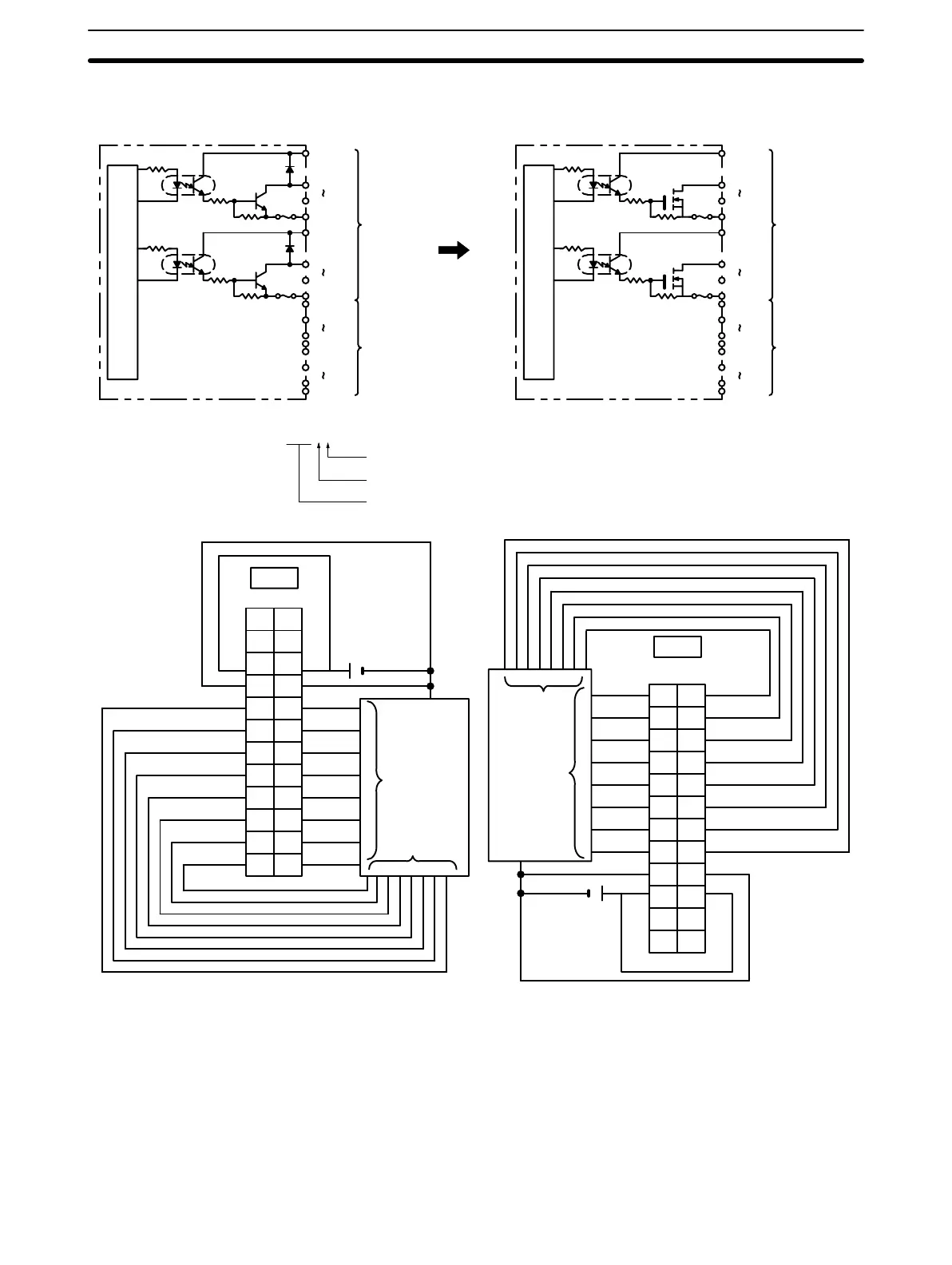
Circuit Configuration
Units manufactured on or before November 29th, 1999
(manufacturing numbers 29Y9 or earlier*)
Units manufactured on or after November 30th, 1999
(manufacturing numbers 30Y9 or later*)
DATA00
DATA07
COM0
CN1
STB00
STB07
COM1
Inter-
nal
Cir-
cuit
Fuse
Fuse
DATA08
DATA15
COM2
STB08
STB15
COM3
CN2
5 to
24 VDC
5 to
24 VDC
5 to
24 VDC
5 to
24 VDC
DATA00
DATA07
COM0
CN1
STB00
STB07
COM1
Inter-
nal
Cir-
cuit
Fuse
Fuse
DATA08
DATA15
COM2
STB08
STB15
COM3
CN2
5 to
24 VDC
5 to
24 VDC
5 to
24 VDC
5 to
24 VDC
10 k
8.2 k
10 k
8.2 k
15 k
6.8 k
15 k
6.8 k
*Manufacturing Numbers
jjY9
Year: Last digit of calendar year; e.g., 19999, 20000
Month: 1 to 9 (January to September), X (October), Y (November), Z (December)
Day: 01 to 31
Terminal Connections
B
1
2
3
4
5
6
7
8
9
DATA0
DATA1
DATA2
DATA3
DATA4
DATA5
DATA6
DATA7
COM0
+V1 10
NC
11
+V0
NC
STB0
STB1
STB2
STB3
STB4
STB5
STB6
STB7
COM1
NC
12
A
1
2
3
4
5
6
7
8
9
10
11
12
NC
5 to 24 VDC
+
CN1
A
1
2
3
4
5
6
7
8
9
DATA8
DATA9
DATA10
DATA11
DATA12
DATA13
DATA14
DATA15
COM2
+V3
10
NC
11
+V2
NC
STB8
STB9
STB10
STB11
STB12
STB13
STB14
STB15
COM3
NC
12
B
1
2
3
4
5
6
7
8
9
10
11
12
NC
+
5 to 24 VDC
CN2
Output device
(such as a nu-
meric display)
Data
input
Strobe
input
Output device
(such as a nu-
meric display)
Data
input
Strobe
input
Note 1. Refer to the Unit’s Operation Manual for details on I/O bit allocation.
2. The Unit will have 128 dynamic output points when pin 1 of it’s DIP switch is ON.
3. Set pin 5 of the Unit’s DIP switch ON for positive logic outputs, or OFF for negative logic outputs. When
set for negative logic outputs, the terminal has an “L” voltage level when there is an output. When set for
positive logic outputs, the terminal has an “H” voltage level when there is an output.
4. The strobe signal has negative logic regardless of the setting of pin 5.
5. When the output device (such as a numeric display) does not have a pull-up resistor, it is necessary to
add a pull-up resistor between the + terminal of the power supply and each data (0 to 15) and strobe (0 to
15) terminal.

Table of Contents

Other manuals for Omron C200HX-CPU64

Related product manuals