EasyManua.ls Logo

Omron K3TC - Page 46

Omron K3TC
77 pages
Print Icon
To Next Page IconTo Next Page
To Next Page IconTo Next Page
To Previous Page IconTo Previous Page
To Previous Page IconTo Previous Page
Loading...

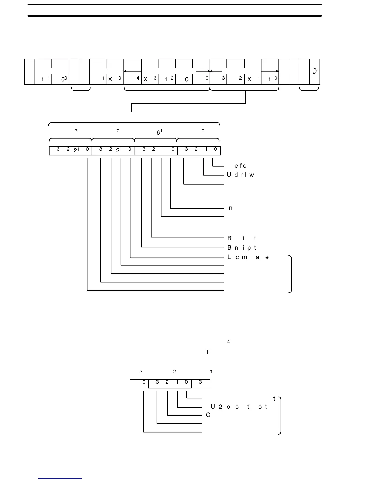
5HVSRQVH )RUPDW 5HVSRQVH DW QRUPDO HQG (QG FRGH ´µ
)&65;#
;
;
;
;
;
;
;
;
;
;
;
2YHUIORZ
8QGHUIORZ
,Q WHVW PRGH
+ROG LQSXW QRZ 21 FRPSHQVDWLRQ
LQSXW XQGHU H[HFXWLRQ LQ WKH FDVH
RI .7&
;
;
;
;
;
;
%DQN LQSXW $
%DQN LQSXW %
// FRPSDUDWLYH RXWSXW
/ FRPSDUDWLYH RXWSXW
+ FRPSDUDWLYH RXWSXW
++ FRPSDUDWLYH RXWSXW
3$66 RXWSXW
VHH 1RWH 
 2))
 21
'LVSOD\ YDOXH GDWD8QLW 1R (QG FRGH 6WDWXV GDWD
'LVSOD\ YDOXH GDWD+HDGHU FRGH
6WDWXV GDWD
:LWKRXW
FRPSDUD
WLYH RXWSXW
WKHVH DUH
DOO /2:
7HUPLQDWRU
)RUFHG]HUR IXQFWLRQ XQGHU
H[HFXWLRQ VHW WR ´µ LQ WKH
.7+ .75 RU .7&
1RWH  'LVSOD\ YDOXH LV H[SUHVVHG LQ ILYH ILJXUHV RI $6&,, 1HJDWLYH VLJQ LV UHSUH
VHQWHG E\ ´)µ DW WKH SRVLWLRQ RI WKH ;
GLJLW
 7KH FRPSDUDWLYH RXWSXWV RI .7& VWDWXV GDWD DUH DV IROORZV
;
;
;
287 FRPSDUDWLYH RXWSXW
287 FRPSDUDWLYH RXWSXW
287 FRPSDUDWLYH RXWSXW
287 FRPSDUDWLYH RXWSXW
287 FRPSDUDWLYH RXWSXW
 /RZ
 +LJK
'LVSOD\ 9DOXH 39 9DOXH 5HDG 6HFWLRQ 

Related product manuals