EasyManua.ls Logo

OPTi SIT UP BENCH - Step 2

OPTi SIT UP BENCH
18 pages
Print Icon
To Next Page IconTo Next Page
To Next Page IconTo Next Page
To Previous Page IconTo Previous Page
To Previous Page IconTo Previous Page
Loading...
6
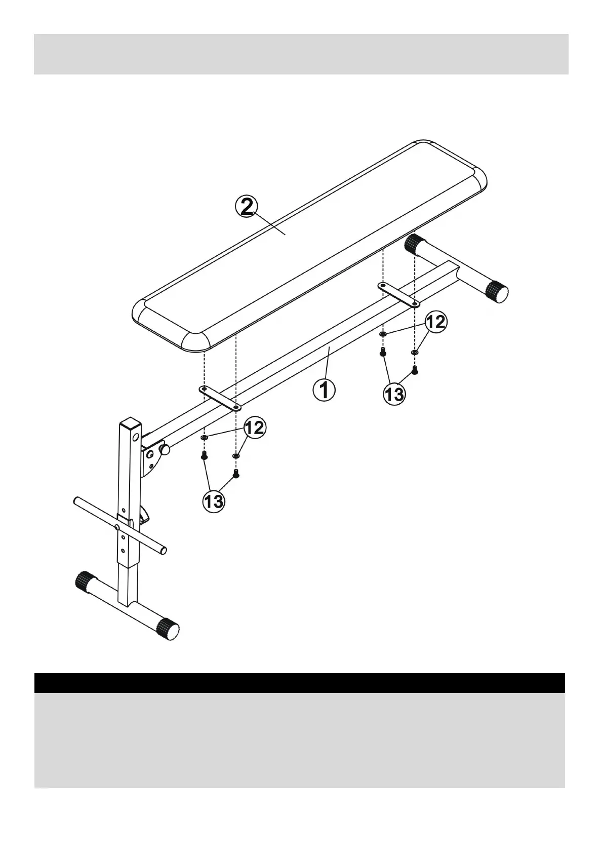
Assembly instructions
A).Attach the Backrest Pad (#2) to the Main Frame (#1), align the hole and secure with four M8×18MM
Allen Bolts (#13) and four Φ8mm Washers (#12).
Step 2