EasyManua.ls Logo

OPTi SIT UP BENCH - Assembly Instructions; Step 1

OPTi SIT UP BENCH
18 pages
Print Icon
To Next Page IconTo Next Page
To Next Page IconTo Next Page
To Previous Page IconTo Previous Page
To Previous Page IconTo Previous Page
Loading...
5
Assembly instructions
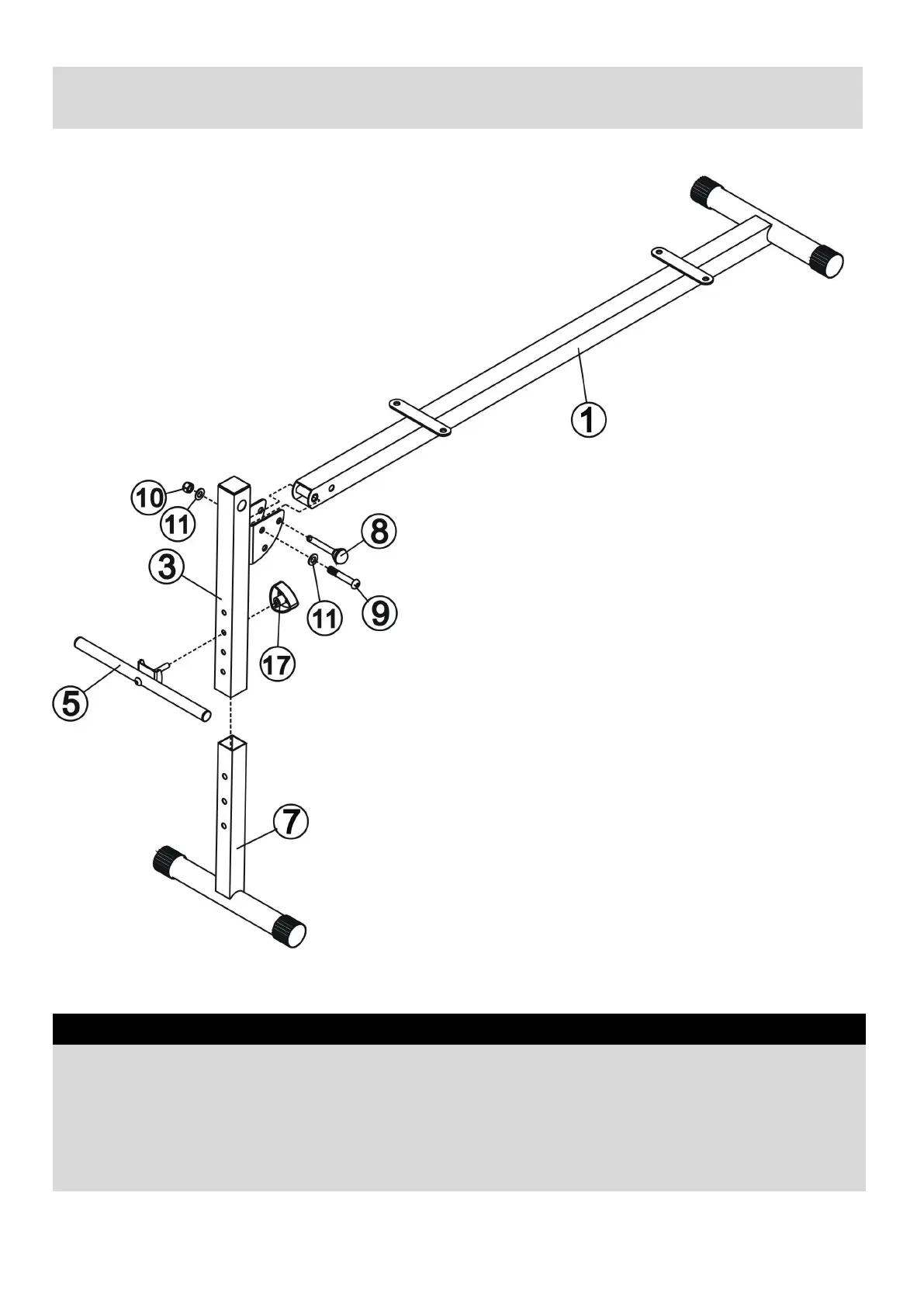
A). Attach the Main Frame(#1) to the bracket on Incline Adjust Tube(#3), Align the hole and secure front
hole with one M10×60MM Allen Bolt(#9), two Φ10mm Washers (#11) and one M10 Aircraft Nut (#10),
insert the Lock Pin(#8) into the rear hole.
B). Insert the Incline Adjust Tube(#3) into the front opening of the Front T shape Stabilizer(#7), Select
desired height and secure with Lower Protection Holder Tube(#5) and Knob Nut(#17).
Step 1