EasyManua.ls Logo

Orbegozo FDR 25 - Antes da Primeira Utilização

Orbegozo FDR 25
Print Icon
To Next Page IconTo Next Page
To Next Page IconTo Next Page
To Previous Page IconTo Previous Page
To Previous Page IconTo Previous Page
Loading...
FDR 27
32
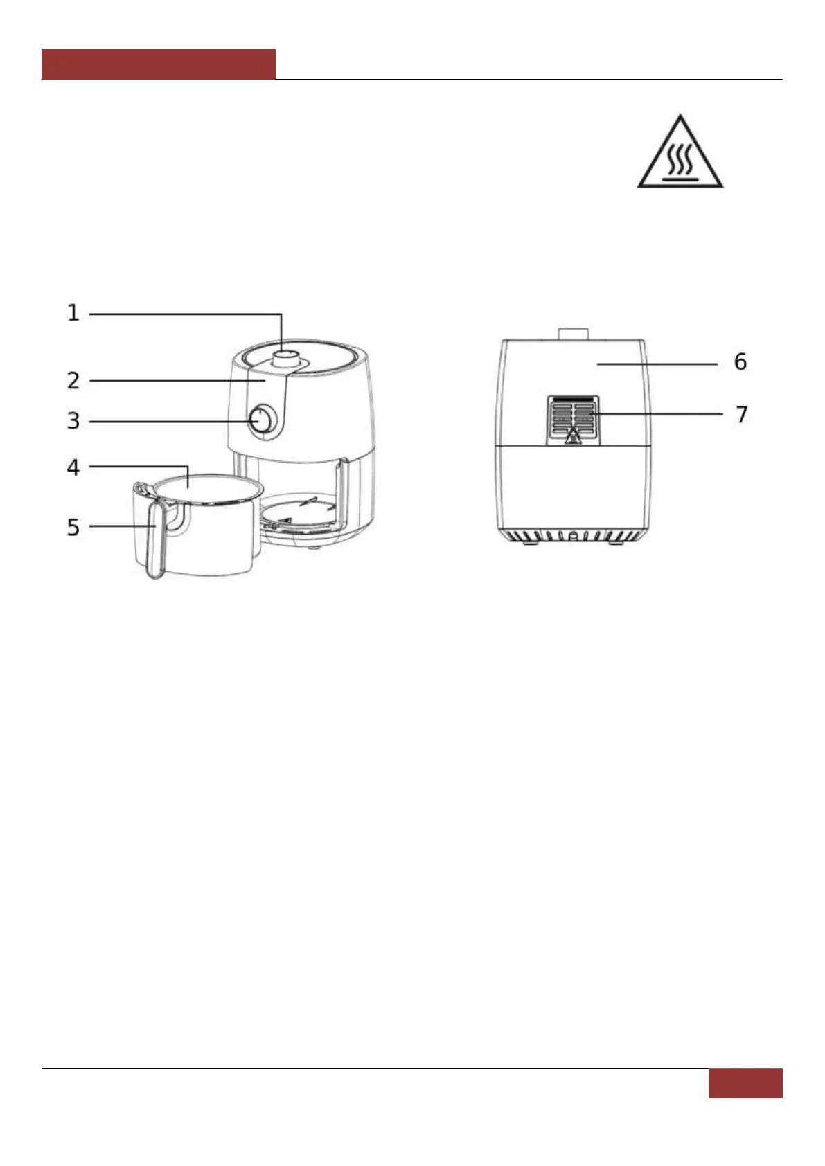
ATENÇÃO: SUPERFÍCIE QUENTE. A
superfície pode permanecer quente durante
ou após a sua utilização.
1. Controlo da temperatura
2. Luz indicadora laranja da opção POWER
3. Temporizador
4. Cesto de fritura
5. Pega antitérmica
6. Corpo de fritadeira
7. Saída de ar
ANTES DA PRIMEIRA UTILIZAÇÃO
1. Remova todo o material da embalagem e todas as etiquetas do interior e exterior da Fritadeira com Ar
Quente. Certifique-se de que não existe nenhum resto de embalagem debaixo ou em torno do cesto de
fritura e da gaveta.
2. Lave o cesto de fritura com água quente com detergente.
3. NÃO MERGULHE A FRITADEIRA COM AR QUENTE EM ÁGUA. Limpe o corpo da Fritadeira com Ar Quente com
um pano húmido. Seque todas as peças cuidadosamente.
IMPORTANTE: A fritadeira usa tecnologia de ar quente. Nunca adicione óleo ou outra graxa ao
fritadeira.

Related product manuals