EasyManua.ls Logo

Orbegozo FDR 25 - Antes de Utilizar por Primera Vez

Orbegozo FDR 25
Print Icon
To Next Page IconTo Next Page
To Next Page IconTo Next Page
To Previous Page IconTo Previous Page
To Previous Page IconTo Previous Page
Loading...
FDR 27
6
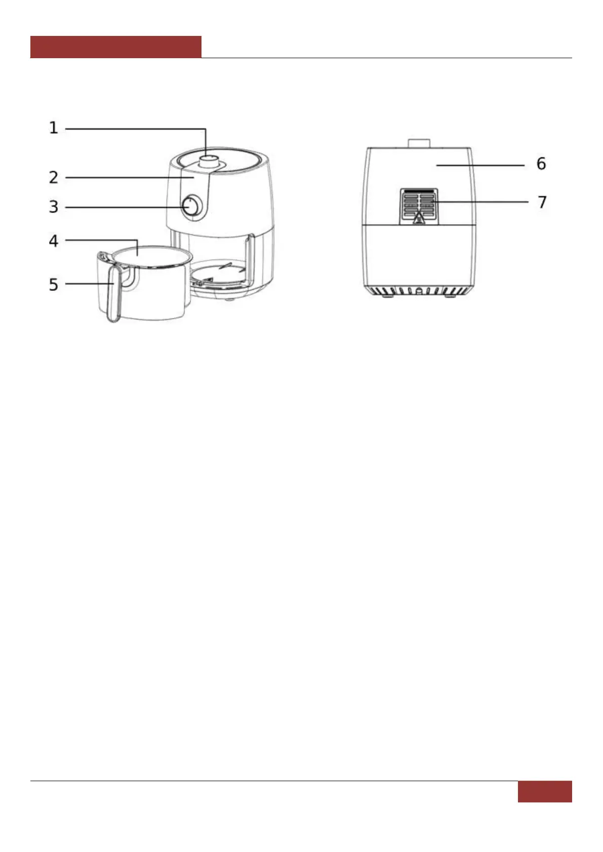
1. Termostato
2. Luz naranja POWER
3. Temporizador
4. Cesto de la freidora
5. Mango tacto frío
6. Cuerpo de la freidora
7. Salida de aire
ANTES DE UTILIZAR POR PRIMERA VEZ
1. Retire todos los elementos del embalaje.
2. Retire las etiquetas y adhesivos del producto.
3. Lave el cesto de freír y la bandeja en agua caliente y jabón no abrasivo.
Nota: Estos componentes también pueden ser lavados en lavavajillas.
4. NO SUMERJA EL CUERPO DE LA FREIDORA EN AGUA. Limpie el interior y el exterior de la freidora de
aire con un trapo húmedo y seque bien cada una de las partes que la componen.
IMPORTANTE: La freidora usa tecnología de aire caliente. Nunca llene de aceite u otra grasa a la
freidora.

Related product manuals