EasyManua.ls Logo

Panasonic AW-PH360N - Parts and Their Functions

Panasonic AW-PH360N
52 pages
Print Icon
To Next Page IconTo Next Page
To Next Page IconTo Next Page
To Previous Page IconTo Previous Page
To Previous Page IconTo Previous Page
Loading...
- 7 -
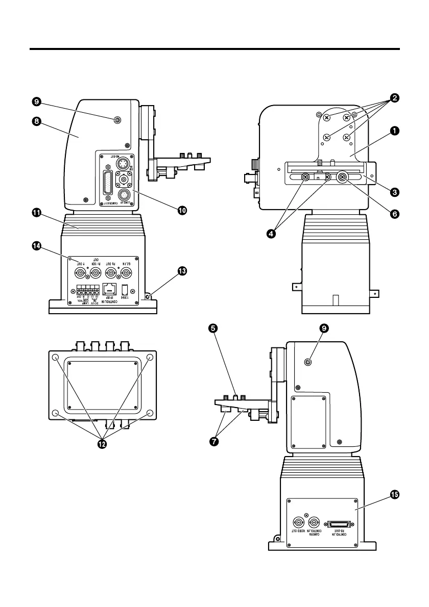
Parts and their functions

Related product manuals