EasyManua.ls Logo

Panasonic CS-A281 KR - Page 11

Panasonic CS-A281 KR
78 pages
Print Icon
To Next Page IconTo Next Page
To Next Page IconTo Next Page
To Previous Page IconTo Previous Page
To Previous Page IconTo Previous Page
Loading...
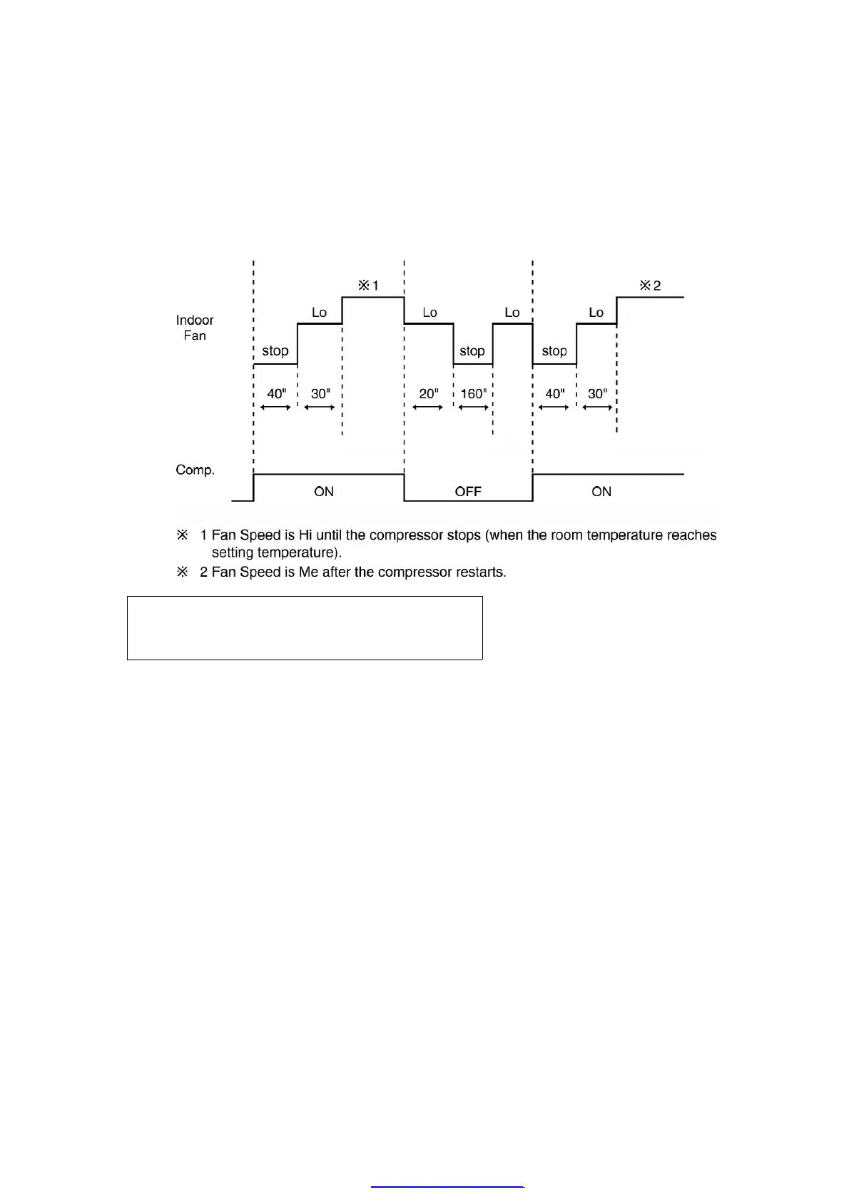
When Automatic Fan Speed is selected at Remote Control during cooling operation.
- Fan speed rotates in the range of Hi to Me.
- Deodorizing Control.
Cooling Operation Time Diagram
11
PDF created with pdfFactory Pro trial version www.pdffactory.com