EasyManua.ls Logo

Panasonic CS-C18GKF - e-ion Operation

Panasonic CS-C18GKF
68 pages
Print Icon
To Next Page IconTo Next Page
To Next Page IconTo Next Page
To Previous Page IconTo Previous Page
To Previous Page IconTo Previous Page
Loading...
42
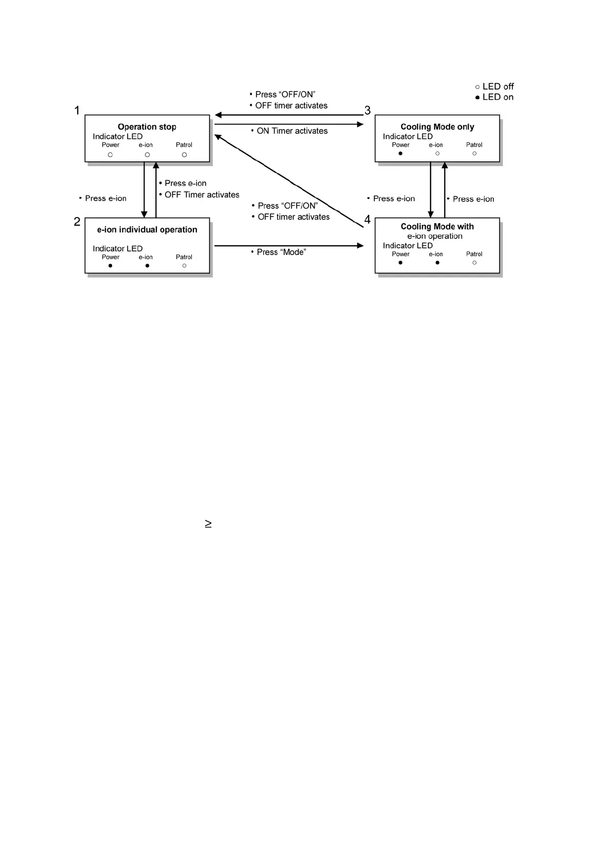
12.15. e-ion Operation
1. Purpose
This operation provides clean air by producing negative ions to attract dust captured at the positively charged e-ion filters.
2. Control Condition
a. e-ion operation start condition
During unit running at any operation mode, if “e-ion” button is pressed, combination operation (operation mode + e-ion
operation) starts.
During unit is OFF, if “e-ion” button is pressed, e-ion individual operation starts.
b. e-ion operation stop condition
When “OFF/ON” button is pressed to stop the operation.
When “e-ion” button is pressed again.
When “Patrol” button is pressed.
When OFF Timer activates.
c. e-ion operation pause condition
When indoor fan stop (during deice, odor cut control, thermostat off, etc.). e-ion operation resume after indoor fan
restarts.
When indoor intake temperature 40°C. e-ion operation resume after indoor intake temperature < 40°C continuously for
30 minutes.

Related product manuals