EasyManua.ls Logo

Panasonic CS-E12NKDW - Refrigeration Cycle Diagrams; Refrigeration Cycle for E7;9;12;15 NKD Models

Panasonic CS-E12NKDW
145 pages
Print Icon
To Next Page IconTo Next Page
To Next Page IconTo Next Page
To Previous Page IconTo Previous Page
To Previous Page IconTo Previous Page
Loading...
24
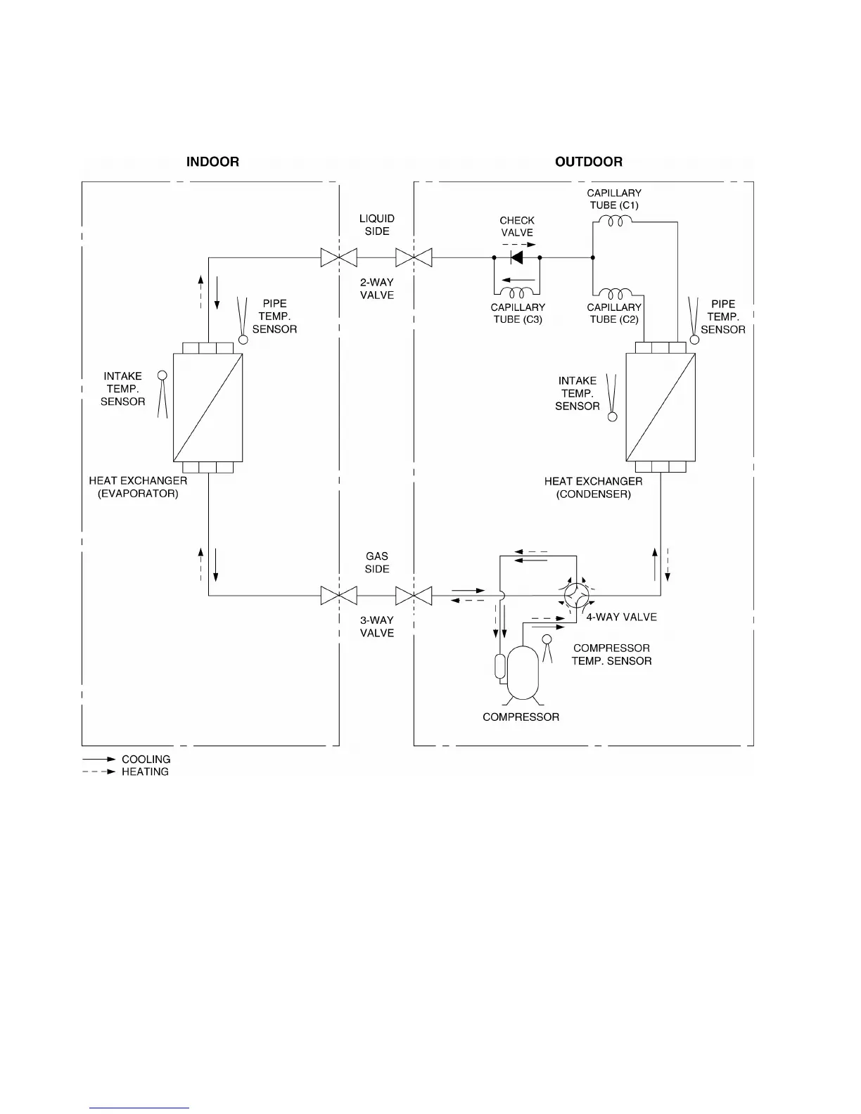
6. Refrigeration Cycle Diagram
6.1 CU-E7NKD CU-E9NKD CU-E12NKD CU-E15NKD

Table of Contents

Related product manuals