EasyManua.ls Logo

Panasonic CS-E24PKR - Remote Control Button

Panasonic CS-E24PKR
205 pages
Print Icon
To Next Page IconTo Next Page
To Next Page IconTo Next Page
To Previous Page IconTo Previous Page
To Previous Page IconTo Previous Page
Loading...
106
4 REMOTE CONTROL RECEIVING SOUND OFF/ON MODE
The Remote Control Receiving Sound OFF/ON Mode will be activated if the Auto OFF/ON button is pressed
continuously for more than 16 seconds (4 “beep” sounds will occur at 16th seconds to identify the Remote
Control Receiving Sound Off/On Mode is in standby condition) and press “AC Reset” button at remote
control.
Press “Auto OFF/ON button” to toggle remote control receiving sound.
o Short “beep”: Turn OFF remote control receiving sound.
o Long “beep”: Turn ON remote control receiving sound.
After Auto OFF/ON Button is pressed, the 20 seconds counter for Remote Control Receiving Sound OFF/ON
Mode is restarted.
15.2 Remote Control Button
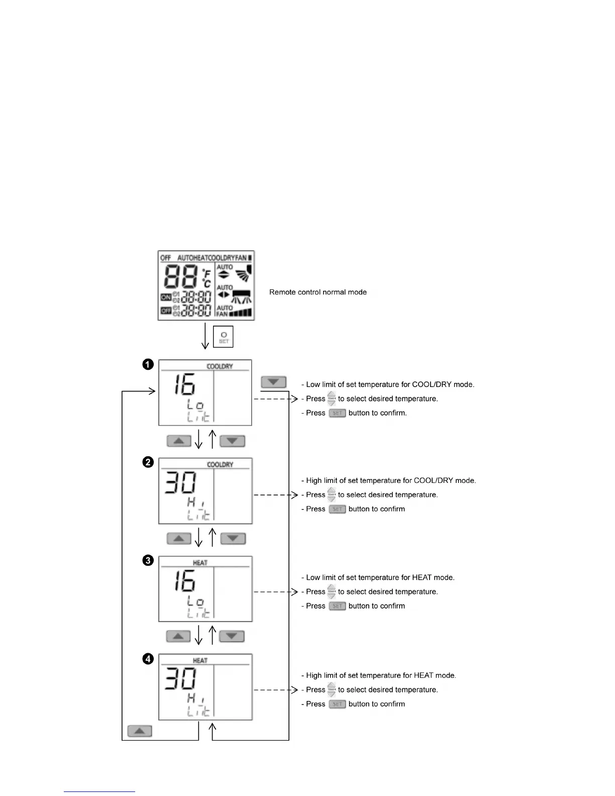
15.2.1 SET Button
To limit set temperature range for COOL/DRY and HEAT mode.

Table of Contents

Other manuals for Panasonic CS-E24PKR

Related product manuals