EasyManua.ls Logo

Panasonic CU-3E18LBE - Cooling Overload Control (Cool); Heating Overload Control (Heat); Extreme Low Temperature Compressor Low Pressure Protection Control (Heat)

Panasonic CU-3E18LBE
103 pages
Print Icon
To Next Page IconTo Next Page
To Next Page IconTo Next Page
To Previous Page IconTo Previous Page
To Previous Page IconTo Previous Page
Loading...
53
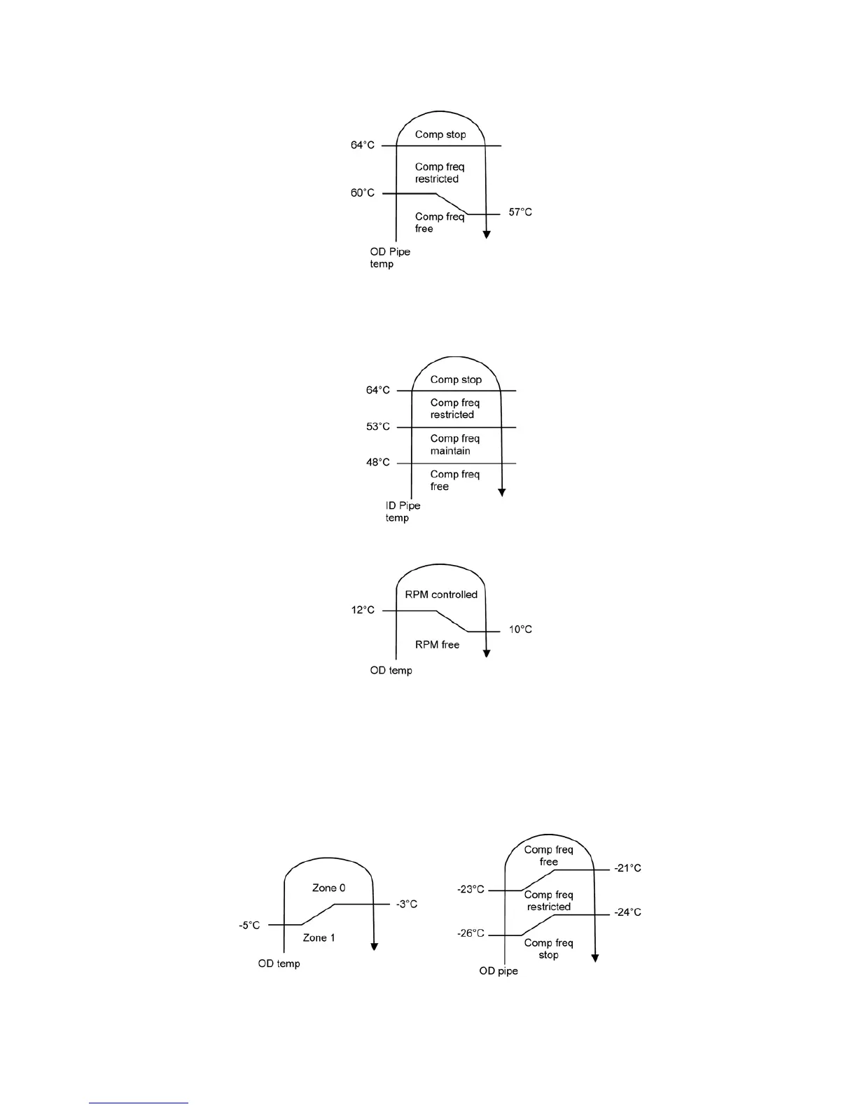
15.5. Cooling overload control (Cool)
This control detect outdoor pipe temperature and perform the compressor frequency restriction during cooling operation.
15.6. Heating overload control (Heat)
This control detect indoor pipe temperature and perform the compressor frequency restriction during heating operation.
This control detect outdoor ambient temperature and perform the fan speed adjustment during heating operation.
15.7. Extreme Low Temperature Compressor low pressure protection control
(Heat)
This control is to prevent low pressure drops too low during extremely low outdoor ambient temperature to improve the
compressor reliability.
During heating operation, when outdoor ambient temperature is in Zone 1, this control will be activated. Compressor frequency
restriction will be based on outdoor piping temperature.

Table of Contents

Other manuals for Panasonic CU-3E18LBE

Related product manuals