EasyManua.ls Logo

Panasonic DP-3530 - Page 505

Panasonic DP-3530
858 pages
To Next Page IconTo Next Page
To Next Page IconTo Next Page
To Previous Page IconTo Previous Page
To Previous Page IconTo Previous Page
Loading...
505
JAN 2006
Ver. 5.2
DP-3510/3520/3530/4510/4520/4530/6010/6020/6030
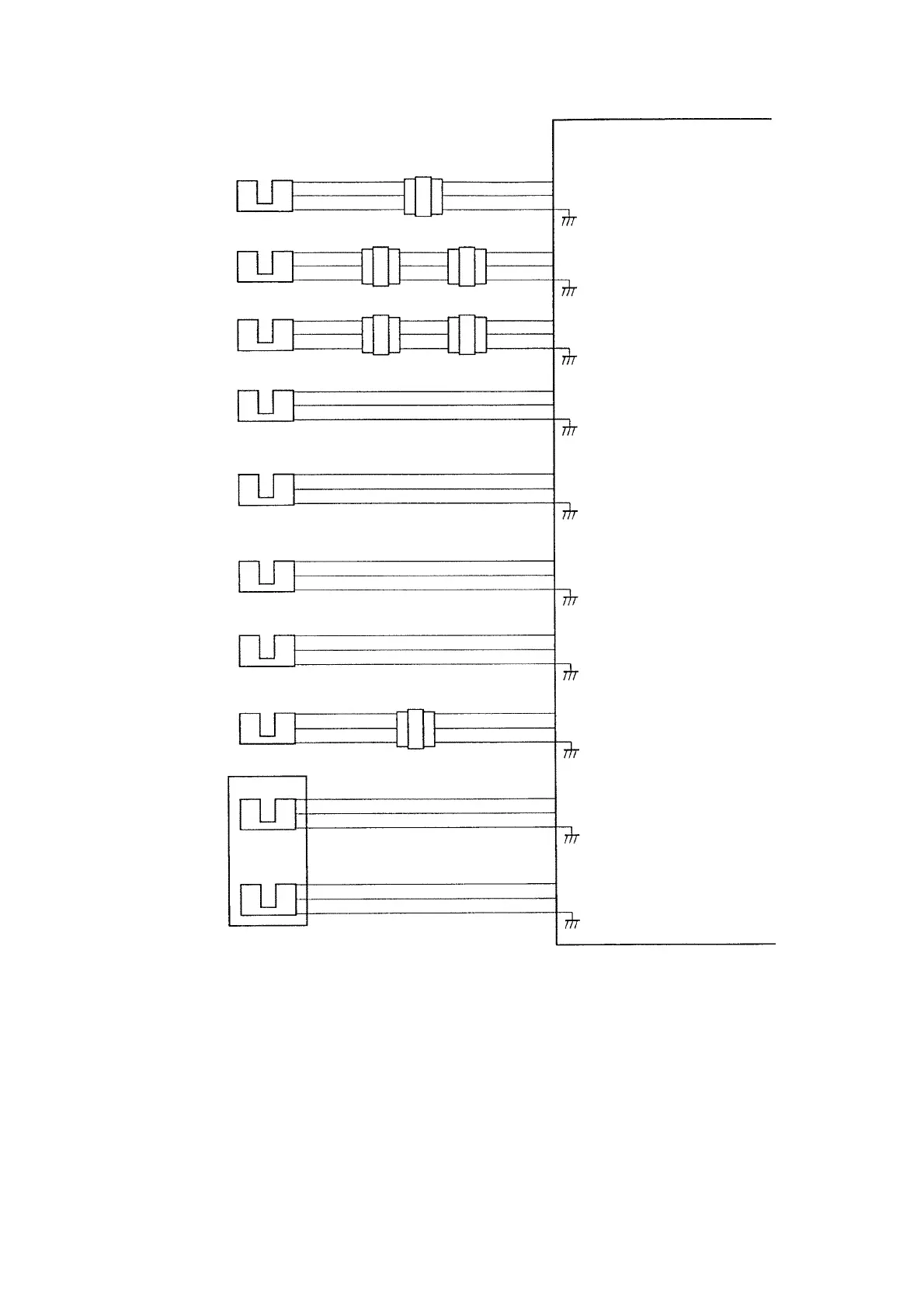
2. Inputs to the Finisher Controller PCB
Fig. 2-004
Delivery
Motor
Clock
Tray 1
Paper
Sensor
Tray 2
Paper
Sensor
Buffer
Path
Paper
Sensor
Joint
Sensor
Door
Open
Sensor
Buffer
Path Inlet
Paper
Sensor
Swing
Guide
Open Sensor
Tray Lift
Motor
Clock
Sensor 1
Tray Lift
Motor
Clock
Sensor 2
Sensor PCB
PI10
PI11
PI12
PI14
PI15
PI16
PI17
PI18
PI19
PI9
J120-1
-2
-3
-9
-8
-7
-3
-4
-5
J101-3
-1
-2
-1
-3
-2
J102-3
-1
-2
-1
-3
-2
-3
-1
-2
-3
-1
-2
-1
-3
-2
-4
-6
-5
-6
-4
-5
-3
-1
-2
J110-3
-1
-2
J117-3
-1
-2
J113-3
-1
-2
J105-3
-1
-2
J127-3
-1
-2
J400-3
-1
-2
J400-6
-4
-5
J9A-9
-8
-7
J14-1
-3
-2
J14-4
-6
-5
J24-4
-6
-5
J12A-1
-3
-2
J12B-1
-3
-2
J24-1
-3
-2
J11-8
-10
-9
J14-10
-12
-11
J14-7
-9
-8
+5V
DELCLK
+5V
FSTTRAY*
+5V
SNDTRAY*
+5V
BUFPASS
+5V
JOINT
+5V
DROPN
+5V
BUFENTR
+5V
SWGOPN
+5V
SPTCLK1
+5V
SFTCLK2
J207A
J1010J1020
-1
-3
-2
-3
-1
-2
J204
J201J201
Finisher Controller PCB
While the delivery
motor is rotating,
oscillates between
“0” and “1”.
When paper is
present on tray 1,
“0”.
When paper is
present on tray 2,
“0”.
When paper is in
the buffer path, “1”.
When the finisher is
joined with the
copier, “1”.
When the front door
is open, “0”.
When paper is
present at the buffer
path inlet, “1”.
When the swing
guide is open, “1”.
When the tray lift
motor is rotating,
oscillates between
“1” and “0”.
When the tray lift
motor is rotating,
oscillates between
“1” and “0”.

Table of Contents

Other manuals for Panasonic DP-3530

Related product manuals