EasyManua.ls Logo

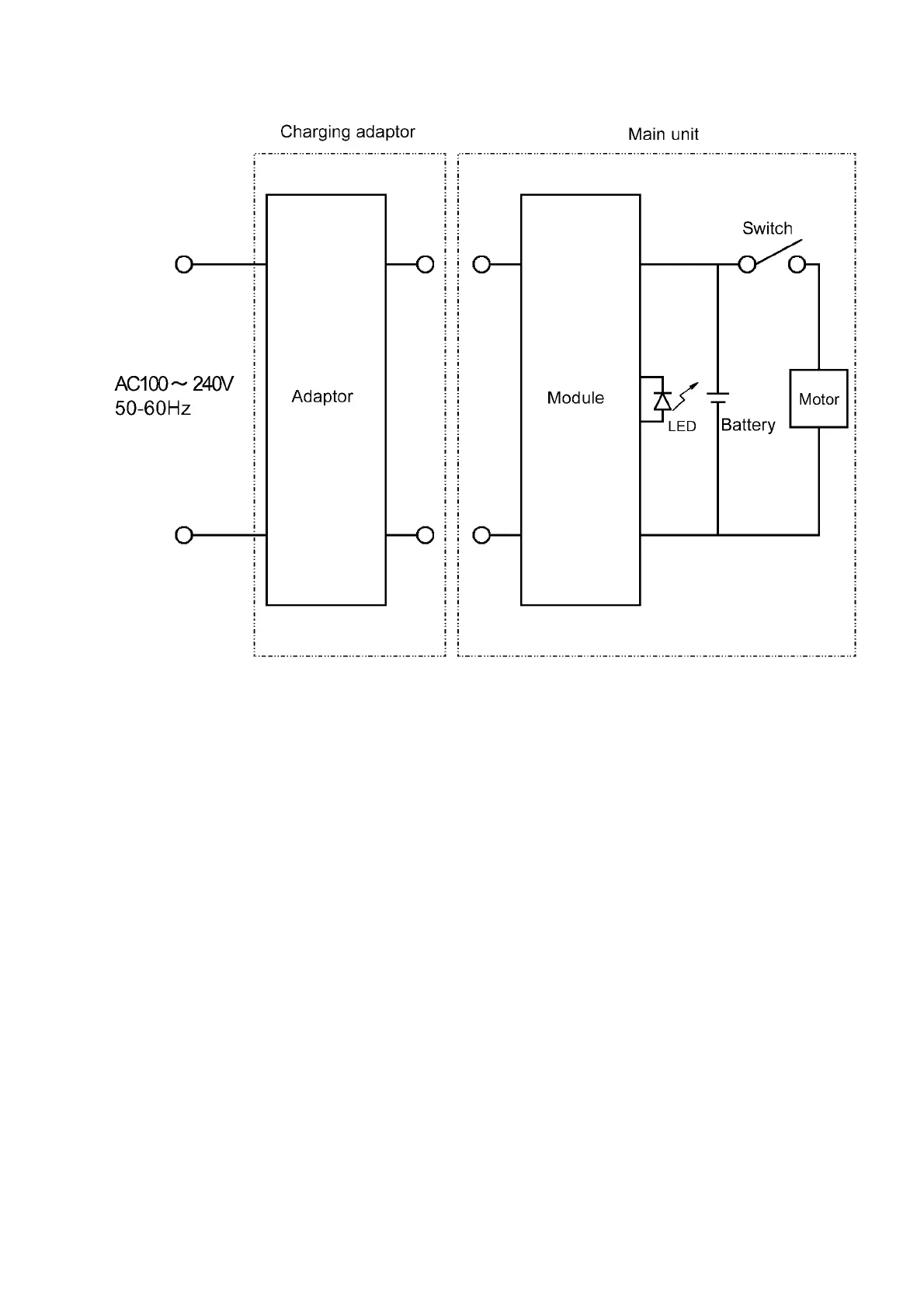
Panasonic ES4853 - Schematic Diagram

Panasonic ES4853
9 pages
Print Icon
To Next Page IconTo Next Page
To Next Page IconTo Next Page
To Previous Page IconTo Previous Page
To Previous Page IconTo Previous Page
Loading...
7
5 Schematic Diagram

Related product manuals