EasyManua.ls Logo

Panasonic EY37A2 - Page 89

Panasonic EY37A2
140 pages
Print Icon
To Next Page IconTo Next Page
To Next Page IconTo Next Page
To Previous Page IconTo Previous Page
To Previous Page IconTo Previous Page
Loading...
-
89
-
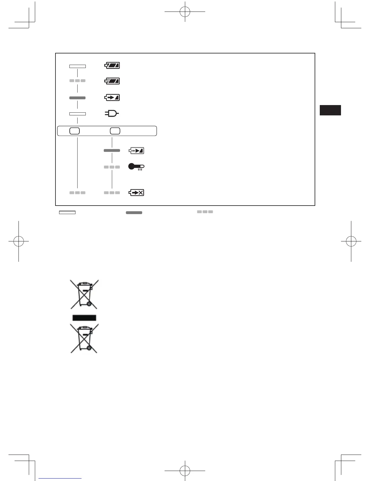
DA
(Grøn) (Orange)
Opladning er afsluttet. (Fuld opladning)
Batteriet er omkring 80% opladet.
Lader.
Slukket Tændt Blinker
Opladeren er sat i lysnetadapteren. Klar til opladning.
Ændring af statuslampen
Venstre: grøn Højre: orange vil blive vist
Batteripakningen er kold.
Batterpakningen oplades langsomt for at reducere belastningen
af batteriet.
Batteripakningen er varm.
Opladningen vil begynde, så snart batteripakningens
temperatur er faldet. Hvis batteripakningens temperatur
er -10°C (14°F) eller derunder, vil opladelampen (orange)
også begynde at blinke. Opladningen vil begynde, når
batteripakningens statustemperatur stiger.
Opladning ikke mulig. Batteripakningen er tilsmudset eller defekt.
LAMPEINDIKERINGER
Genbrug af batterier
OBS:
For at beskytte miljøet og genbruge materialer, skal du altid huske at bortskaffe udtjente
batterier på forskriftsmæssig vis, dvs. indlevere dem til et sted, der er godkendt af
myndighederne, hvis et sådant forefi ndes i dit land.
Brugerinformation om indsamling og bortskaffelsse af elektronikskrot og brugte batterier
Disse symboler på produkter, emballage og/eller ledsagedokumenter betyder,
at brugte elektriske og elektroniske produkter og batterier ikke må smides ud
som almindeligt husholdningsaffald.
Sådanne gamle produkter og batterier skal indleveres til behandling, genvinding
resp. recycling i henhold til gældende nationale bestemmelser samt direktiverne
2012/19/ EF og 2006/66/EF.
Ved at bortskaffe sådanne produkter og batterier på korrekt vis hjælper du med
til at beskytte værdifulde ressourcer og imødegå de negative påvirkninger af
det menneskelige helbred og miljøet, som vil kunne være følgen af usagkyndig
affaldsbehandling.
Ønsker du mere udførlig information om indsamling og recycling af
gamle produkter og batterier, kan du henvende dig til din kommune,
deponeringsselskabet eller stedet, hvor du har købt produkterne.
Usagkyndig bortskaffelse af elektronikskrot og batterier kan eventuelt udløse
bødeforlæg.
For kommercielle brugere i Den Europæiske Union
Når du ønsker at kassere elektriske eller elektroniske apparater, bedes du henvende dig til din
forhandler eller leverandør for nærmere information.
[Information om bortskaffelse i lande uden for Den Europæiske Union]
Disse symboler gælder kun inden for Den Europæiske Union. Ønsker du at kassere sådanne
produkter, bedes du forhøre dig hos din forhandler eller kommune med henblik på en
hensigtsmæssig bortskaffelse.
EY37A2.indb 89 2015-2-13 9:53:39

Other manuals for Panasonic EY37A2

Related product manuals