EasyManua.ls Logo

Panasonic LUMIX DMC-FX500 - Tomar IMágenes con el Zoom; Usar el Zoom Óptico;Usar el Zoom Óptico Adicional (EZ)

Panasonic LUMIX DMC-FX500
32 pages
To Next Page IconTo Next Page
To Next Page IconTo Next Page
To Previous Page IconTo Previous Page
To Previous Page IconTo Previous Page
Loading...
VQT1Q37 (SPA)
22
Modo [REC]: ñ³±´²¿n
Tomar imágenes con el zoom
Puede acercarse con el zoom para hacer parecer a las personas y los objetos más
cercanos o alejarse con el zoom para grabar paisaje de gran ángulo. Para que los sujetos
parezcan aún más cercanos [máximo de 8,9k], no fije el tamaño de la imagen al ajuste
más alto para cada relación de aspecto (X/Y/W).
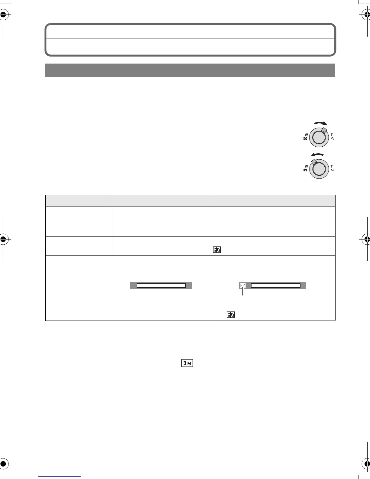
Tipos de zoom
Al usar la función del zoom, aparecerá una estimación del rango del enfoque
conjuntamente con la barra de visualización del zoom. (Ejemplo: 0.5 m (1.64 ft.) – )
¢ El nivel de ampliación según el ajuste de [TAMAÑ. IM.] y [ASPECTO].
Mecanismo del zoom óptico adicional
Cuando ajusta el tamaño de la imagen a [ ] (3 millones de píxeles), el área CCD de
10M (10,1 millones de píxeles) se recorta al área central de 3M (3 millones de xeles),
permitiendo una imagen con un alto efecto de zoom.
Usar el zoom óptico/Usar el zoom óptico adicional (EZ)
Para hacer aparecer los sujetos más cercanos utilice (Tele)
Gire la palanca del zoom hacia Tele.
Para hacer aparecer los sujetos más distantes utilice (Granangular)
Gire la palanca del zoom hacia Granangular.
Característica Zoom óptico Zoom óptico adicional (EZ)
Máxima ampliación 5k 8,9k
¢
Calidad de la
imagen
Sin deterioro Sin deterioro
Condiciones Ninguna
Está seleccionado [TAMAÑ. IM.] con
.
Visualización de la
pantalla
A
[] está visualizado.
T
W
T
W
A
DMC-FX500P-VQT1Q37_spa.book 22 ページ 2008年2月25日 月曜日 午後12時6分

Other manuals for Panasonic LUMIX DMC-FX500

Related product manuals