EasyManua.ls Logo

Panasonic NA-F70GS

Panasonic NA-F70GS
19 pages
To Next Page IconTo Next Page
To Next Page IconTo Next Page
To Previous Page IconTo Previous Page
To Previous Page IconTo Previous Page
Loading...
17
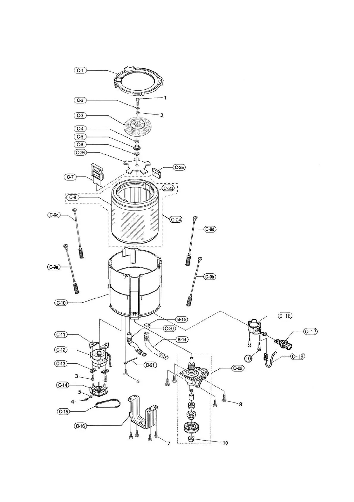
LOCATION OF PART LIST C

Related product manuals