EasyManua.ls Logo

Panasonic NN-SD987S - Page 14

Panasonic NN-SD987S
29 pages
Print Icon
To Next Page IconTo Next Page
To Next Page IconTo Next Page
To Previous Page IconTo Previous Page
To Previous Page IconTo Previous Page
Loading...
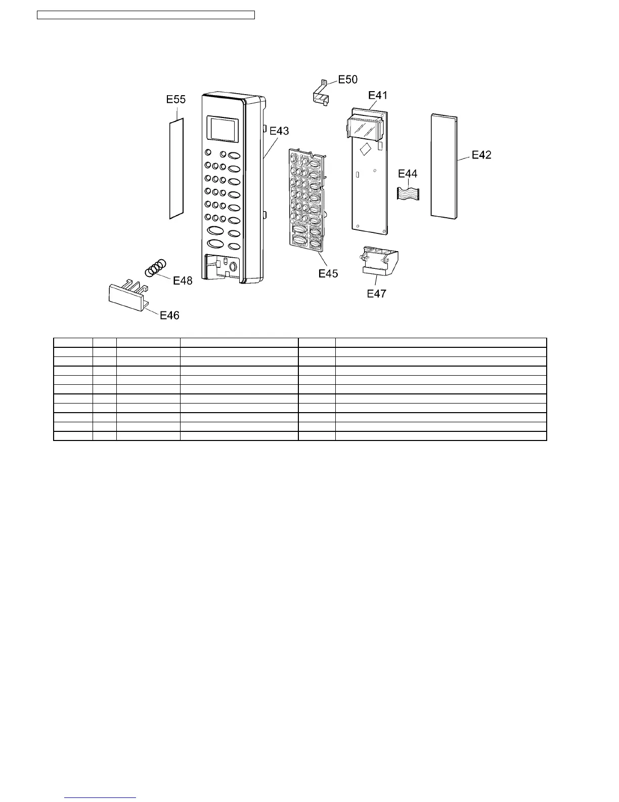
6.3.3. NN-SN977S APH
Ref. No. Part No. Part Name & Description Pcs/Set Remarks
E41 F603L8P50AP D.P.CIRCUIT (AU) 1 SN977S APH
E42 F603Y5W00AP D.P.CIRCUIT (DU) 1 SN977S APH
E43 F800L8P50SAP ESCUTCHEON BASE (U) 1 SN977S APH
E44 F66164W20AP FLAT CABLE 1 SN977S APH
E45 F82986G00SAP BUTTON 1 SN977S APH
E46 F891P8P50SAP DOOR OPENING BUTTON (U) 1 SN977S APH
E47 F82565W00AP DOOR OPENING LEVER 1 SN977S APH
E48 F80375K00AP COOK BUTTON SPRING 1
E50 F90095X00AP GROUNDING PANEL 1 SN977S APH
E55 F00078P50SAP NAME PLATE 1 SN977S APH
14
NN-SD997S / NN-SD987S / NN-SD967S / NN-SN977S / NN-SN957S / NN-SN947S

Related product manuals