EasyManua.ls Logo

Panasonic PV-D301 - Page 19

Panasonic PV-D301
215 pages
Print Icon
To Next Page IconTo Next Page
To Next Page IconTo Next Page
To Previous Page IconTo Previous Page
To Previous Page IconTo Previous Page
Loading...
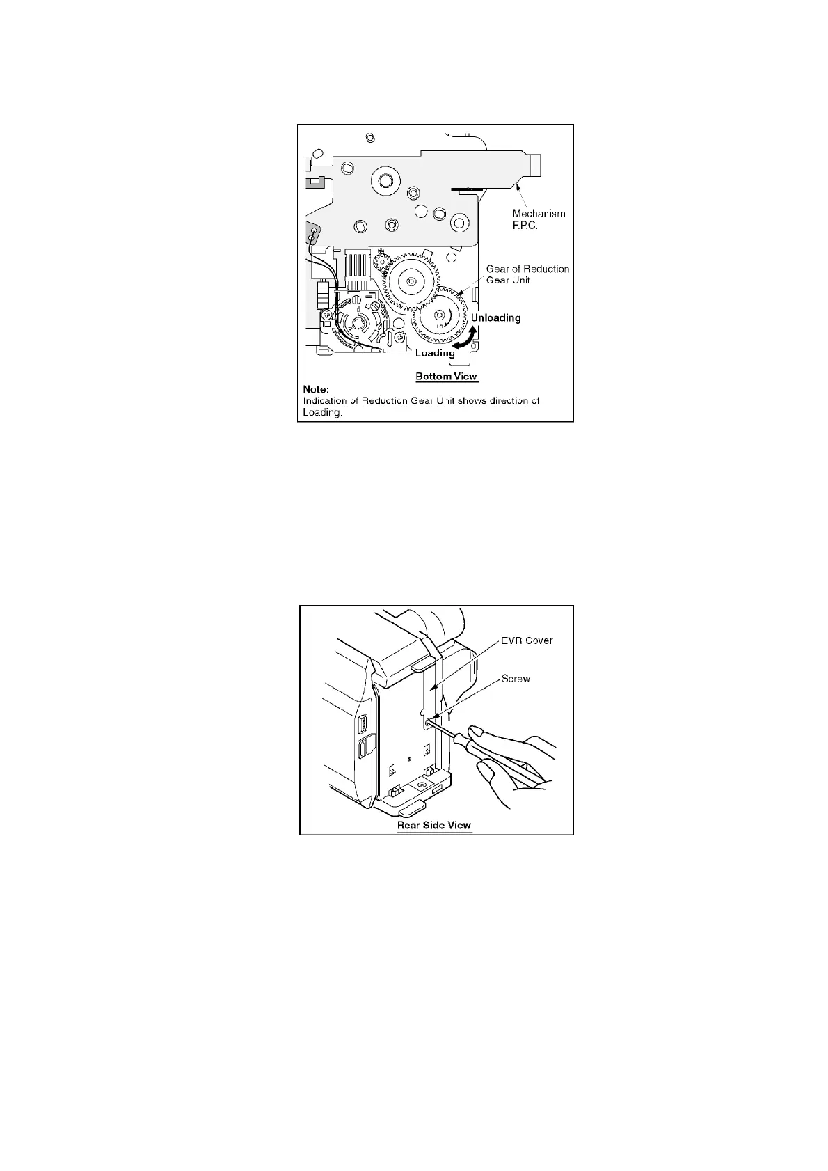
6.1.7. HOW TO REMOVE A JAMMED TAPE
CAUTION:
If loading does not start after DC Power Supply is applied, DO NOT
continue applying DC Power Supply.
Remove a jammed tape as follows:
1. Remove a Screw and remove the EVR Cover.
Fig. 4-1
2. Place the unit with the Cassette Cover facing upward.
3. Connect the TP Board through the TP Board slot.
4. Apply +3VDC Power Supply to TP20 (+) and TP21 (-) on the TP
Board to unload the mechanism. It normally takes approx. 6
seconds to unload the Mechanism to EJECT position. Then,
remove the Power Supply and remove the TP Board.
Fig. 4-2
19

Related product manuals