EasyManua.ls Logo

Panasonic SB-PS81 - Optical Pickup Unit Circuit

Panasonic SB-PS81
154 pages
Print Icon
To Next Page IconTo Next Page
To Next Page IconTo Next Page
To Previous Page IconTo Previous Page
To Previous Page IconTo Previous Page
Loading...
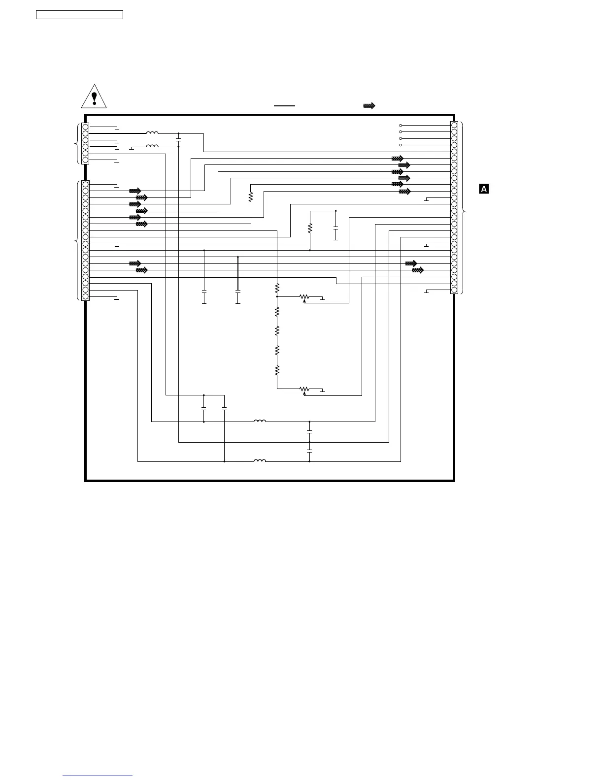
21.1. Optical Pickup Unit Circuit
TO ACT
TO
DVD
MODULE
(IN/OUT)
CIRCUIT
(FP8501) ON
SCHEMATIC
DIAGRAM-2
TO
HFM
PCB
TO
LDU
PCB
L4
J0JBC0000105
L1
J0JBC0000105
L2
J0JCC0000307
C5
22P
C6
22P
C1
0.1
C3
0.1
C2
0.1
R1
0
R4
0
R2
0
C8
0.1
R3
0
R5
0
R6
0
R7
6.8K
C7
0.1
VR2
6.8K
VR1
6.8K
C4
0.22
L3
J0JBC0000105
T+
F+
F-
T-
HFM
TA
TB
TD
TC
FE2
FE1
GND (IM)
RF
VREF2(RF-)
PIN (DVD)
LD (CD)
LD GND
LD (DVD)
GND (OEIC)
VREF1
VCC
SUB2
SUB1
PIN(CD)
SW
GND (IM)
GND
VCC
GND
GND
OUT
GND
GND
TB
TA
TC
TD
FE1
FE2
IM
RF
GND
VREF
VCC
SUB2
SUB1
SW
LD (CD)
LD (DVD)
LDGND
SCHEMATIC DIAGRAM - 1
OPTICAL PICKUP UNIT CIRCUIT
: +B SIGNAL LINE : CD-DA SIGNAL LINE
2
4
6
5
3
1
15
14
13
12
11
10
2
4
6
8
9
7
5
3
1
17
18
16
16
17
18
19
20
21
25
23
22
24
26
1
2
3
4
5
6
14
12
10
8
7
9
11
13
15
80
SA-VK81DGCS / SA-VK81DGCP

Table of Contents

Related product manuals