EasyManua.ls Logo

Panasonic TX-P50C2B - Remove the C1-Board; Remove the C2-Board; Remove the S-Board

Panasonic TX-P50C2B
107 pages
Print Icon
To Next Page IconTo Next Page
To Next Page IconTo Next Page
To Previous Page IconTo Previous Page
To Previous Page IconTo Previous Page
Loading...
27
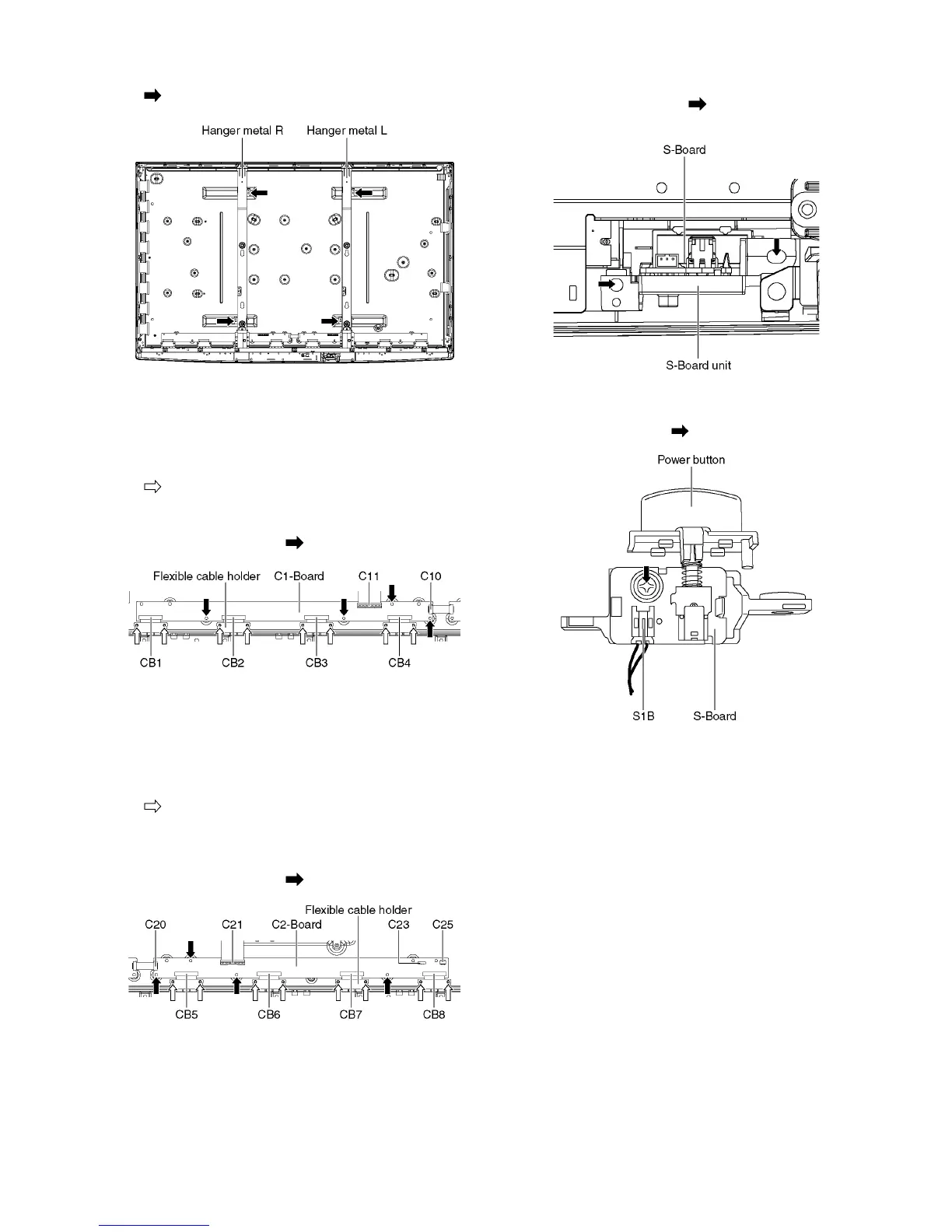
3. Remove the Hanger metals (L, R) fastening screws (×2
each) and remove the Hanger metals (L, R).
9.13. Remove the C1-Board
1. Remove the Hanger metal R and the Stand bracket R.
(See section 9.12.)
2. Remove the flexible cable holder fastening screws (×8
).
3. Disconnect the flexible cables (CB1, CB2, CB3 and CB4).
4. Disconnect the flexible cables (C10 and C11).
5. Remove the screws (×4 ) and remove the C1-Board.
9.14. Remove the C2-Board
1. Remove the Tuner unit. (See section 9.5.)
2. Remove the Hanger metal L and the Stand bracket L.
(See section 9.12.)
3. Remove the flexible cable holder fastening screws (×8
).
4. Disconnect the flexible cables (CB5, CB6, CB7 and CB8).
5. Disconnect the flexible cables (C20 and C21).
6. Disconnect the connectors (C23 and C25).
7. Remove the screws (×4 ) and remove the C2-Board.
9.15. Remove the S-Board
1. Remove the screws (×2 ) and remove the S-Board
unit.
2. Disconnect the connector (S1B).
3. Remove the Power Button.
4. Remove the screw (×1 ) and remove the S-Board.

Table of Contents

Related product manuals