EasyManua.ls Logo

Panasonic VDR-D160GN - Recording Still Pictures

Panasonic VDR-D160GN
116 pages
Print Icon
To Next Page IconTo Next Page
To Next Page IconTo Next Page
To Previous Page IconTo Previous Page
To Previous Page IconTo Previous Page
Loading...
Recording
Recording still pictures
41
LSQT1184
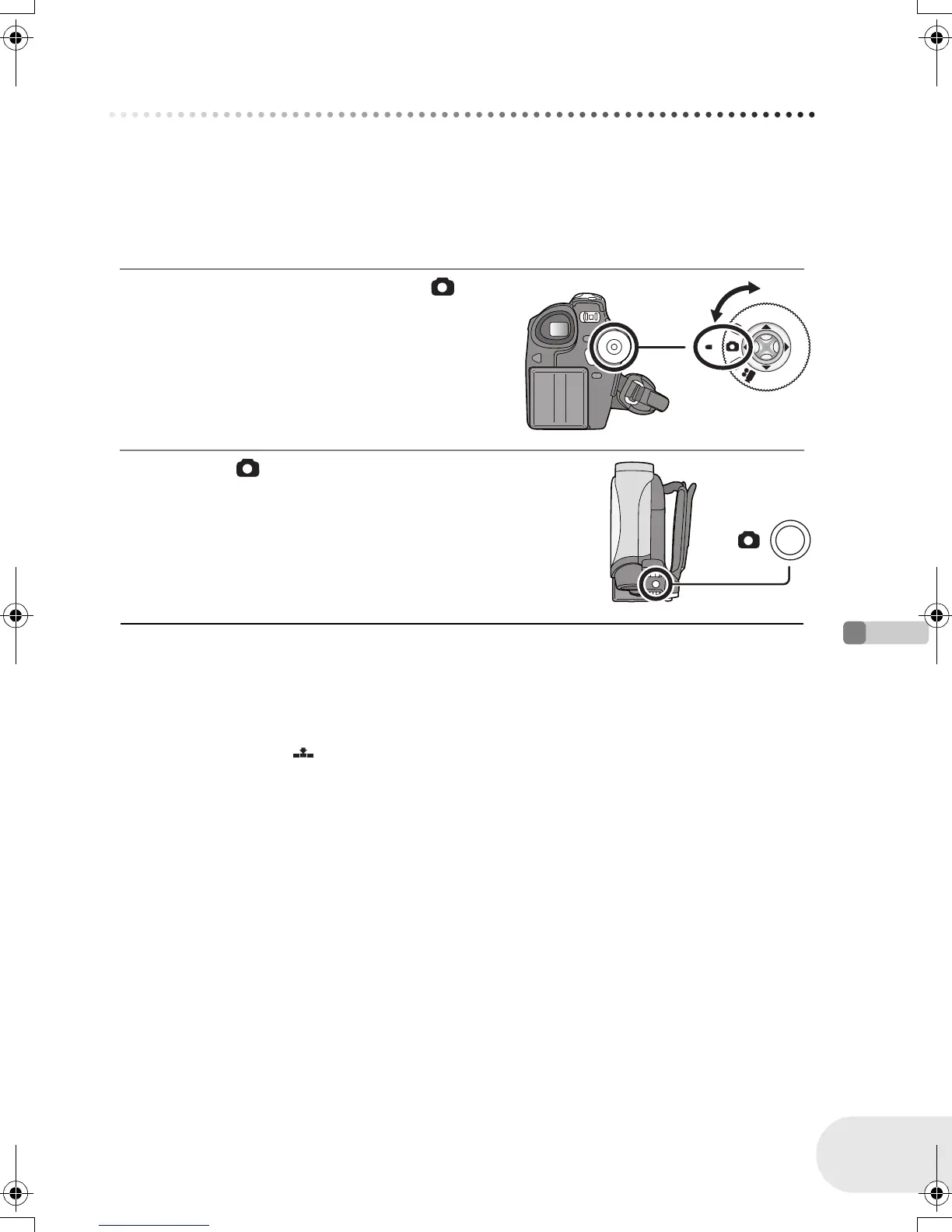
Recording still pictures
(SD)
Record the still picture on an SD card.
1 Remove the lens cap, then turn the unit on.
If the unit is turned on with the lens cap fitted, the automatic white balance adjustment may not
function properly.
2 Rotate the mode dial to select .
3 Press the button.
The unit automatically focuses on the subject at the centre of screen
(when auto focus is selected).
The size of pictures: 640k480 pixels
For information about the number of recordable still
pictures on an SD card (l 115)
The sound cannot be recorded.
If the write protection switch on the SD card is set to
LOCK, it cannot be used for recording.
If set [PICT. QUALITY] # [ ], mosaic-pattern
noise may appear on a playback image depending
on the picture content.
While the card access lamp is lit, do not perform the
following, as doing so may damage the SD card or
the data on the card.
Turn the unit off.
Insert or remove the SD card.
Operate the mode dial.
Another product may degrade or not play back still
pictures recorded on this unit.
To record still pictures clearly
When zooming in on the subject with a magnification of 4k or higher, it is difficult to reduce the
slight shaking from holding this unit by hand. We recommend decreasing the zoom magnification
and approaching the subject when recording.
You can record stable pictures without shaking by using a tripod.
LSQT1184(ENG).book 41 ページ 2007年2月5日 月曜日 午後1時29分

Table of Contents

Related product manuals