EasyManua.ls Logo

Parkside 96899 - Αυθεντικός Πρόσθετος Εξοπλισμός; Πρόσθετες Συσκευές; Θέση Σε Λειτουργία; Πλήρωση Γεμιστήρα; Σύνδεση Πηγής Πεπιεσμένου Αέρα

Parkside 96899
53 pages
Print Icon
To Next Page IconTo Next Page
To Next Page IconTo Next Page
To Previous Page IconTo Previous Page
To Previous Page IconTo Previous Page
Loading...
41 GR/CY
Ασφάλεια της συσκευής σύνδεσης Ασφάλεια της συσκευής σύνδεσης / Θέση σε λειτουργία / Χειρισμός
Μην πλησιάζετε ποτέ τα χέρια σας κοντά στο
στόμιο ενόσω η συσκευή είναι έτοιμη για λει-
τουργία. Διαφορετικά μπορεί να προκληθούν
τραυματισμοί.
Προσέξτε για τυχόν φθορές. Ελέγξτε τη
συσκευή πριν από τη θέση σε λειτουργία για τυ-
χόν βλάβες. Σε περίπτωση που η συσκευή πα-
ρουσιάζει βλάβες μην την θέσετε σε λειτουργία.
Μη χρησιμοποιείτε αιχμηρά αντικείμενα.
Μην εισάγετε ποτέ αιχμηρά ή / και μεταλλικά
αντικείμενα στο εσωτερικό της συσκευής.
Αυθεντικός πρόσθετος
εξοπλισμός / πρόσθετες συσκευές
Χρησιμοποιείτε μόνο πρόσθετα εξαρ-
τήματα και πρόσθετες συσκευές που
αναφέρονται στις οδηγίες χρήσης. Η
χρήση αντικειμένων σύνδεσης ή πρόσθετων
εξαρτημάτων διαφορετικών από εκείνα που
συνιστώνται στις οδηγίες χρήσης μπορεί να
επιφέρει κίνδυνο τραυματισμού.
Θέση σε λειτουργία
ΥΠΟΔΕΙΞΗ: Πριν από κάθε λειτουργία, φορέστε
τα προστατευτικά γυαλιά που παρέχονται. Πριν από
την πρώτη χρήση, αφαιρέστε την προστατευτική
μεμβράνη από τα γυαλιά.
Σύνδεση πηγής
πεπιεσμένου αέρα
ΥΠΟΔΕΙΞΗ: Το καρφωτικό πεπιεσμένου αέρα επι-
τρέπεται να χρησιμοποιείται αποκλειστικά με καθαρό
πεπιεσμένο αέρα με σταγονίδια λαδιού χωρίς να
γίνεται υπέρβαση της μέγιστης πίεσης εργασίας των
8 bar. Για τη ρύθμιση της πίεσης εργασίας ο συ-
μπιεστής πρέπει να εξοπλιστεί με ρυθμιστή πίεσης.
Συνδέστε τη συσκευή σε κατάλληλη πηγή πεπιε-
σμένου αέρα.
1. Για να το κάνετε αυτό πιέστε την άμεση ζεύξη
του εύκαμπτου σωλήνα πεπιεσμένου αέρα (δεν
περιέχεται στη συσκευασία παράδοσης) στη
σύνδεση σπειρώματος ¼"
4
του καρφωτικού
πεπιεσμένου αέρα.
Η εμπλοκή επιτυγχάνεται αυτόματα.
2. Συνδέστε το άλλο άκρο του εύκαμπτου σωλήνα
πεπιεσμένου αέρα με το (φίλτρο) ρυθμιστή πίε-
σης στο συμπιεστή.
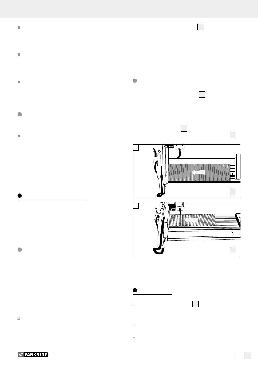
Πλήρωση γεμιστήρα
1. Πιέστε το μοχλό γεμιστήρα
5
και τραβήξτε το
κάλυμμα του γεμιστήρα προς τα πίσω μέχρι το
τέρμα.
2. Τοποθετήστε το αντίστοιχο υλικό σύνδεσης
(καρφιά, βλέπε εικ. 01 ή συνδετήρες, βλέπε εικ.
02) στο γεμιστήρα
6
. Οι σφιγκτήρες πρέπει να
τοποθετηθούν στον κορμό του γεμιστήρα
6
.
02
6
01
6
3. Σπρώξτε το κάλυμμα του γεμιστήρα προς τα
μπροστά μέχρι να ασφαλίσει.
Χειρισμός
Πληρώστε το γεμιστήρα
6
του καρφωτικού
πεπιεσμένου αέρα, όπως περιγράφεται στο κε-
φάλαιο „Πλήρωση γεμιστήρα“.
Με τη βοήθεια του ρυθμιστή πίεσης ρυθμίστε
τη σωστή πίεση εργασίας.
Προσέξτε να μην υπερβείτε τη μέγιστη πίεση
εργασίας των 8 bar.

Table of Contents

Other manuals for Parkside 96899

Related product manuals