EasyManua.ls Logo

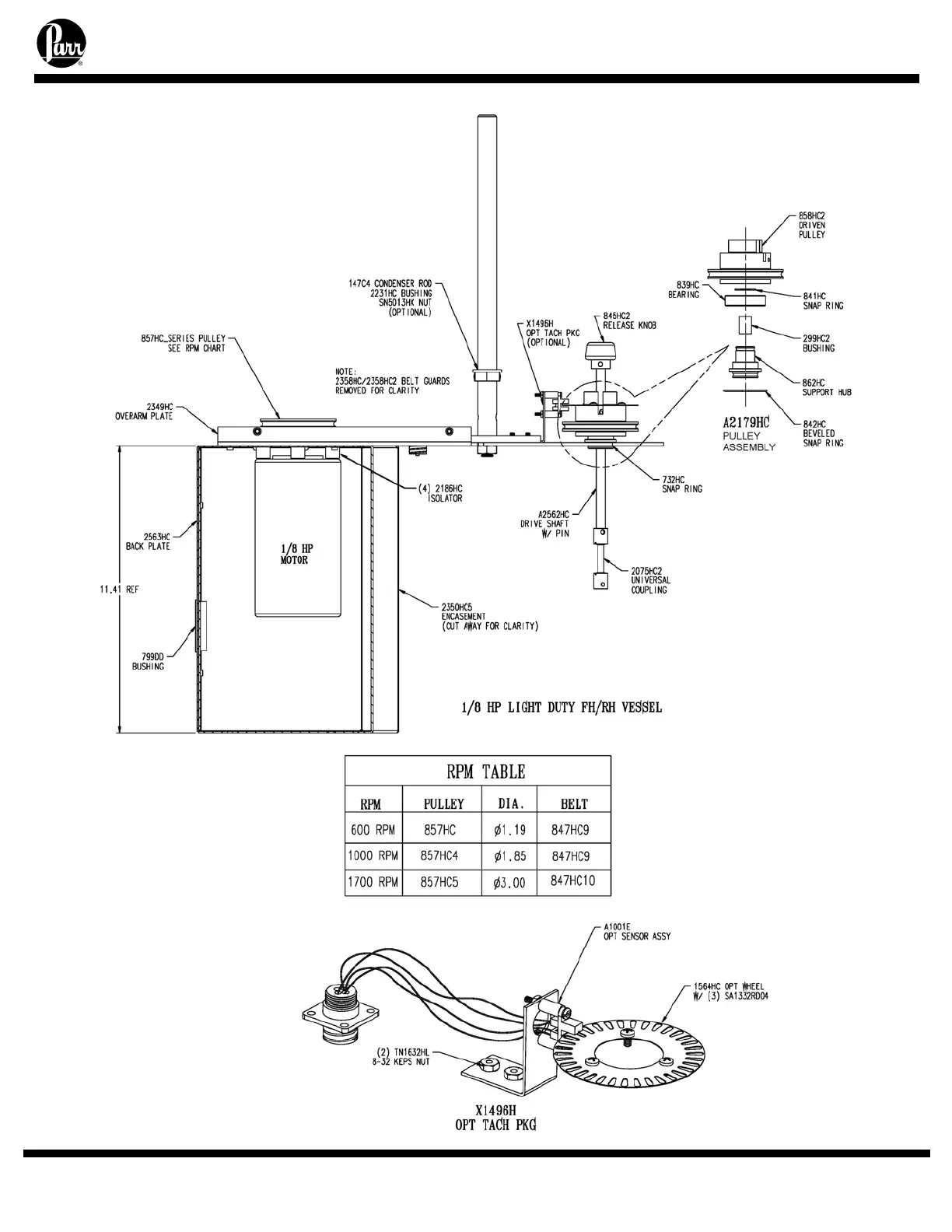
parr 4520 - Overarm Assembly Diagram

parr 4520
32 pages
Print Icon
To Next Page IconTo Next Page
To Next Page IconTo Next Page
To Previous Page IconTo Previous Page
To Previous Page IconTo Previous Page
Loading...
- 29 -
4520 Bench Top Reactors
Parr Instrument Company
Overarm Assembly

Related product manuals