EasyManua.ls Logo

Peavey Ecoustic 112

Peavey Ecoustic 112
52 pages
To Next Page IconTo Next Page
To Next Page IconTo Next Page
To Previous Page IconTo Previous Page
To Previous Page IconTo Previous Page
Loading...
14
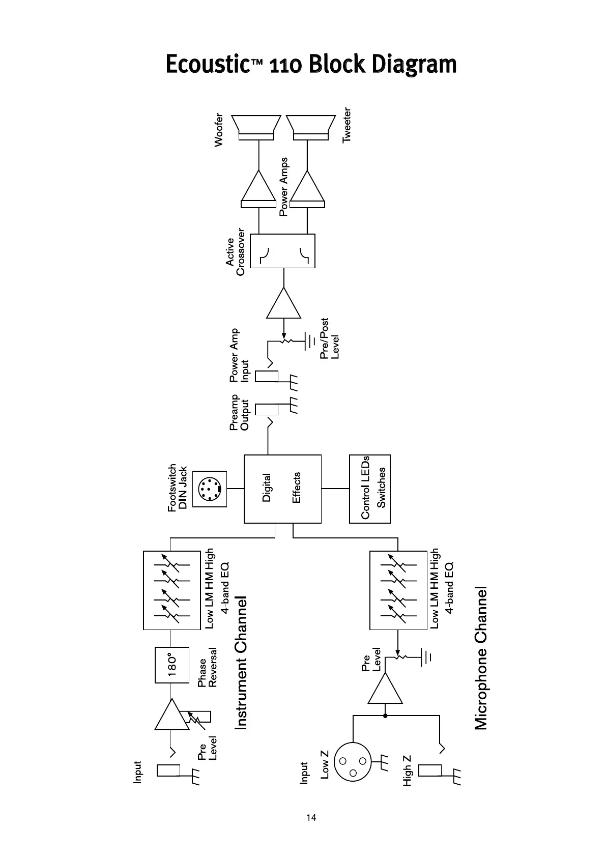
EEccoouussttiicc
111100 BBlloocckk DDiiaaggrraamm
All manuals and user guides at all-guides.com

Other manuals for Peavey Ecoustic 112

Related product manuals