EasyManua.ls Logo

Peavey Transtube Transformer 112 - Page 31

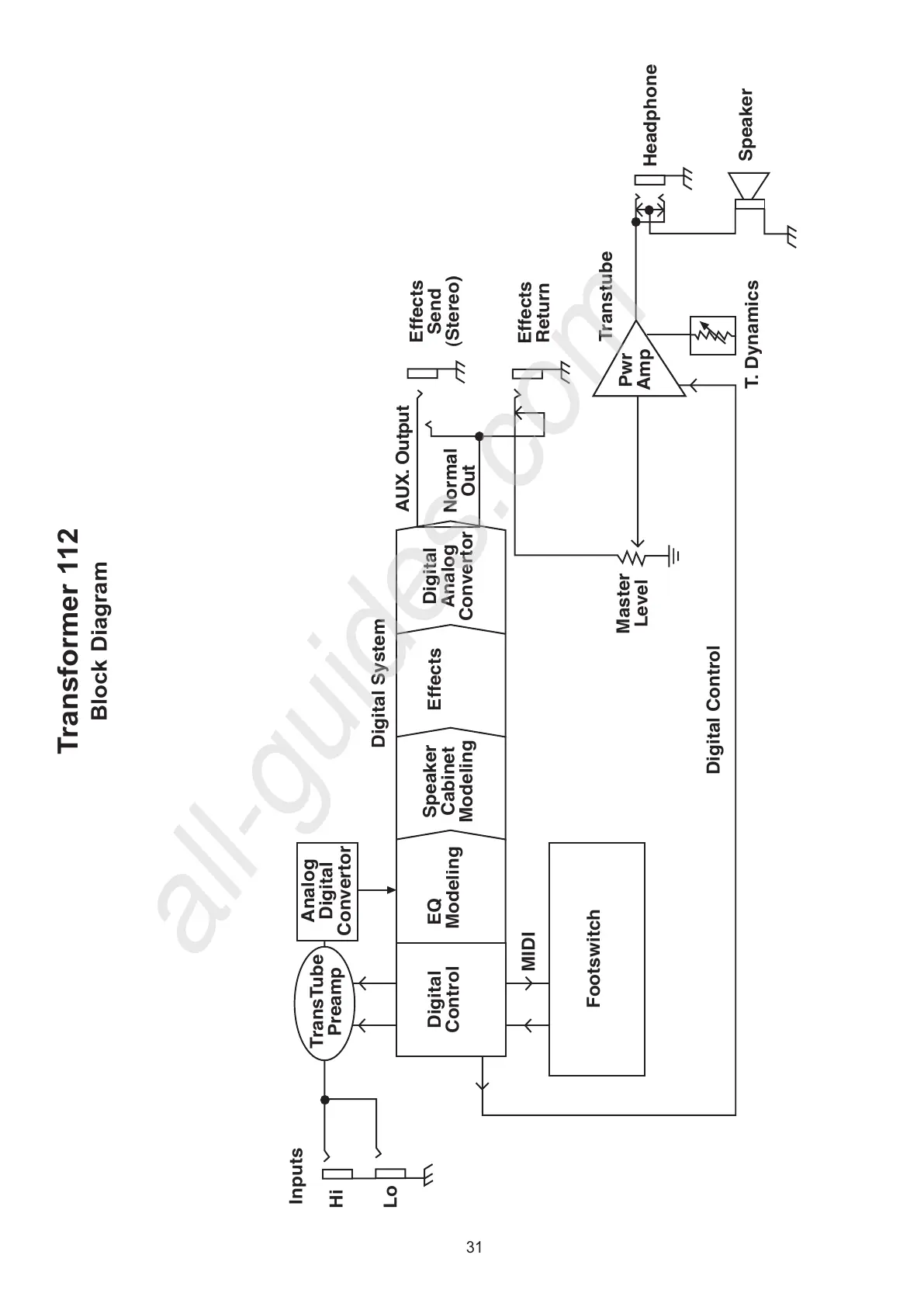
Peavey Transtube Transformer 112
122 pages
To Next Page IconTo Next Page
To Next Page IconTo Next Page
To Previous Page IconTo Previous Page
To Previous Page IconTo Previous Page
Loading...
31
Digital
Control
EQ/Amp
Modeling
Speaker
Cabinet
Modeling
Effects
Modeling
Digital
Analog
Convertor
Analog
Digital
Convertor
TransTube
Preamp
Digital System
Hi
Lo
Footswitch
MIDI
Digital Control
Pwr
Amp
Transtube
Master
Level
T. Dynamics
Effects
Send
(Stereo)
Effects
Return
Headphone
Speaker
AUX. Output
Normal
Out
Inputs
Transformer 112
Block Diagram
All manuals and user guides at all-guides.com
all-guides.com

Related product manuals